| Обозначение: |  ГОСТ 21939-76 |
| Статус: | действующий |
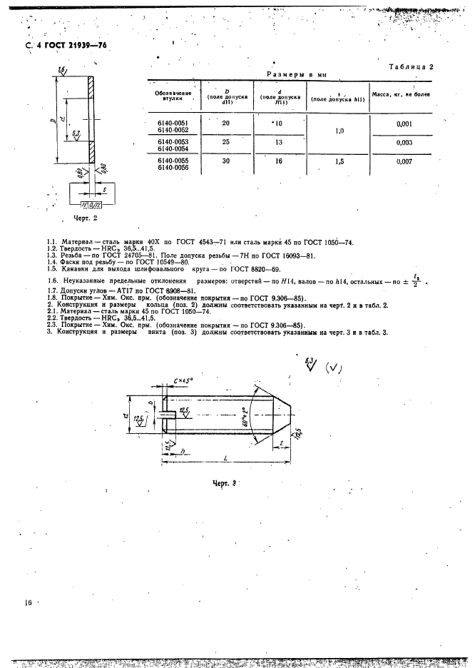
| Название рус.: | Втулки для плашек к патронам для нарезания резьбы на токарных станках. Конструкция и размеры |
| Название англ.: | Die sleeves of chucks for thread cutting on lathes. Design and dimensions |
| Дата актуализации текста: | 06.04.2015 |
| Дата актуализации описания: | 01.07.2023 |
| Дата издания: | 01.02.1987 |
| Дата введения: | 01.01.1978 |
| Код ОКП: | 392830 |
| Взамен: | МН 2511-61 |
| Взамен в части: | МН 2508-61 в части колец с D <= 30 мм |
| Нормативные ссылки: | ГОСТ 1476-84; ГОСТ 9740-71; ГОСТ 24643-81 |
| Область применения: | Настоящий стандарт распространяется на втулки для плашек к патронам для нарезания резьбы на токарных станках |
| Список изменений: | №1 от 30.04.1983 (рег. 06.12.1982) «Срок действия продлен» |
|