| Обозначение: |  ГОСТ 21761-76 |
| Статус: | действующий |
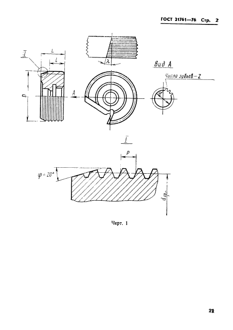
| Название рус.: | Гребенки круглые к винторезным самооткрывающимся головкам. Основные размеры |
| Название англ.: | Circular chasers for self-opening threadcutting die heads. Main dimensions |
| Дата актуализации текста: | 06.04.2015 |
| Дата актуализации описания: | 01.07.2023 |
| Дата издания: | 01.09.1982 |
| Дата введения: | 01.01.1978 |
| Код ОКП: | 392518 |
| Взамен: | МН 4268-63;МН 4269-63;МН 4270-63;МН 4271-63;МН 4272-63 |
| Нормативные ссылки: | ГОСТ 21760-76 |
| Область применения: | Настоящий стандарт распространяется на круглые гребенки к винторезным самооткрывающимся головкам |
|