| Обозначение: |  ГОСТ 2323-76 |
| Статус: | действующий |
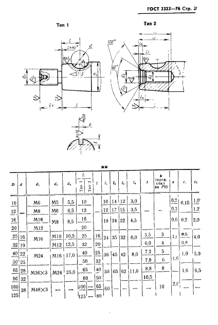
| Название рус.: | Концы шлифовальных шпинделей с наружным базирующим конусом. Присоединительные размеры |
| Название англ.: | Noses of grinding spindles with outside taper. Coupling dimensions |
| Дата актуализации текста: | 06.04.2015 |
| Дата актуализации описания: | 01.07.2023 |
| Дата издания: | 01.03.1986 |
| Дата введения: | 01.01.1978 |
| Код ОКП: | 381300 |
| Взамен: | ГОСТ 2323-67 |
| Нормативные ссылки: | ГОСТ 10549-80; ГОСТ 23360-78; ГОСТ 14034-74; ГОСТ 24071-80; ГОСТ 16093-81; ГОСТ 24705-81 |
| Область применения: | Настоящий стандарт распространяется на концы шлифовальных шпинделей с наружным базирующим конусом для посадки фланцев шлифовального инструмента |
| Список изменений: | №1 от 01.03.1983 (рег. 11.10.1982) «Срок действия продлен» №2 от 01.03.1986 (рег. 06.01.1986) «Срок действия продлен» |
|