Скачать ГОСТ 21540-76 Зенкеры, оснащенные твердосплавными пластинами, для обработки деталей из нержавеющих и жаропрочных сталей и сплавов. Конструкция и размерыДата актуализации: 01.06.2025 ГОСТ 21540-76
Зенкеры, оснащенные твердосплавными пластинами, для обработки деталей из нержавеющих и жаропрочных сталей и сплавов. Конструкция и размеры
| Обозначение: |  ГОСТ 21540-76 |
| Статус: | действующий |
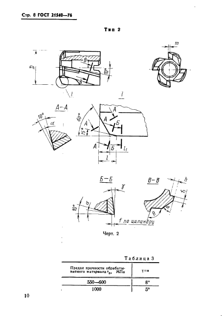
| Название рус.: | Зенкеры, оснащенные твердосплавными пластинами, для обработки деталей из нержавеющих и жаропрочных сталей и сплавов. Конструкция и размеры | | Название англ.: | Carbide tipped counterbores for machining stainless and high-temperature steels and alloys. Design and dimensions | | Дата актуализации текста: | 06.04.2015 | | Дата актуализации описания: | 01.07.2023 | | Дата издания: | 01.12.1984 | | Дата введения: | 01.01.1977 | | Код ОКП: | 391624 | | Нормативные ссылки: | ГОСТ 9472-83; ГОСТ 14034-74; ГОСТ 21542-76; ГОСТ 25424-82; ГОСТ 25557-82;СТ СЭВ 841-78 | | Область применения: | Настоящий стандарт распространяется на зенкеры цельные с коническим хвостовиком и насадные, оснащенные твердосплавными пластинами, предназначенные для предварительной и окончательной обработки сквозных отверстий с полем допуска по Н11 в деталях из нержавеющих и жаропрочных сталей и сплавов | | Список изменений: | №1 от 31.05.1984 (рег. 30.12.1983) «Срок действия продлен» | |
           
|