| Обозначение: |  ГОСТ 22406-77 |
| Статус: | заменён |
| Название рус.: | Детали и изделия из древесины для строительства. Метод определения условной влагопроницаемости влагозащитных покрытий и пропиток |
| Название англ.: | Timber elements and products for building. Method of determining conditional water permeability of water protecting finishes and impregnating compounds |
| Дата актуализации текста: | 06.04.2015 |
| Дата актуализации описания: | 01.07.2023 |
| Дата издания: | 01.02.1987 |
| Дата введения: | 01.01.1978 |
| Дата окончания срока действия: | 01.09.2022 |
| Код ОКП: | 536000 |
| Заменяющий: | ГОСТ 22406-2021 |
| Нормативные ссылки: | ГОСТ 11.002-73; ГОСТ 166-73; ГОСТ 577-68; ГОСТ 1050-70; ГОСТ 2140-71; ГОСТ 2874-73; ГОСТ 7313-75; ГОСТ 8240-74; ГОСТ 10277-76; ГОСТ 13639-75; ГОСТ 14644-75; ГОСТ 16483.7-71; ГОСТ 18188-72 |
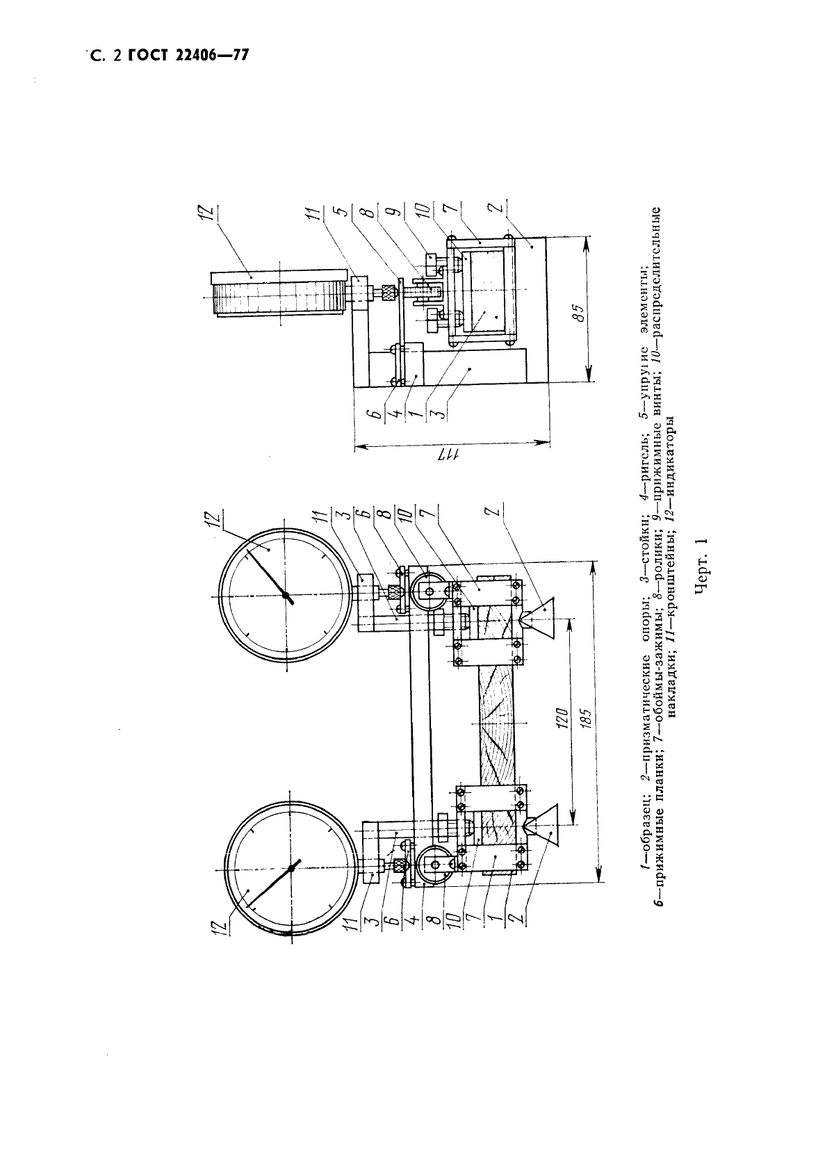
| Область применения: | Настоящий стандарт распространяется на строительные детали, изделия и конструкции из древесины (в том числе клееные) и устанавливает метод определения условной влагопроницаемости влагозащитных покрытий и пропиток. Стандарт не распространяется на детали, изделия и конструкции из древесноволокнистых, древесностружечных плит и фанеры и композиций из этих материалов, в том числе с древесиной |
|