| Обозначение: |  ГОСТ 22660-77 |
| Статус: | действующий |
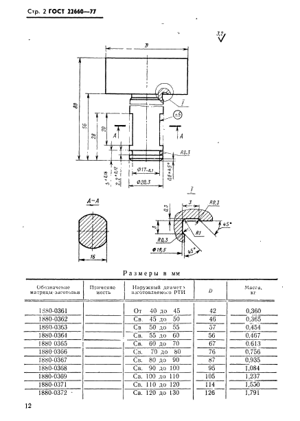
| Название рус.: | Матрицы-заготовки пакетов двухкассетных пресс-форм для изготовления резиновых технических изделий. Конструкция и размеры |
| Название англ.: | Die workpieces of packets for two-cassette moulds for manufacturing rubber technical products. Design and dimensions |
| Дата актуализации текста: | 06.04.2015 |
| Дата актуализации описания: | 01.07.2023 |
| Дата издания: | 01.11.1984 |
| Дата введения: | 01.01.1979 |
| Код ОКП: | 362400;362600 |
| Нормативные ссылки: | ГОСТ 4543-71; ГОСТ 5950-73; ГОСТ 14901-79; ГОСТ 20177-74; ГОСТ 22658-77 |
| Область применения: | Настоящий стандарт распространяется на матрицы-заготовки пакетов, устанавливаемых в блоках двухкассетных пресс-форм для изготовления стандартных резиновых технических изделий с наружным диаметром от 4 до 130 мм |
| Список изменений: | №1 от 01.01.1985 (рег. 24.06.1984) «Срок действия продлен» |
|