| Обозначение: |  ГОСТ 22442-77 |
| Статус: | заменён |
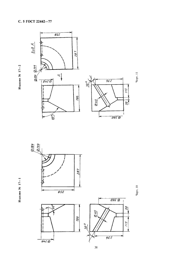
| Название рус.: | Изделия огнеупорные для стабилизирующих камер газовых горелок. Технические условия |
| Название англ.: | Refractory articles for stabilizing gas burner chambers. Specifications |
| Дата актуализации текста: | 06.04.2015 |
| Дата актуализации описания: | 01.07.2023 |
| Дата издания: | 01.10.2004 |
| Дата введения: | 01.07.1978 |
| Дата окончания срока действия: | 01.03.2023 |
| Код ОКП: | 154200;156800 |
| Заменяющий: | ГОСТ 22442-2022 |
| Нормативные ссылки: | ГОСТ 390-83; ГОСТ 427-75; ГОСТ 2409-80; ГОСТ 2642.0-86; ГОСТ 2642.1-86; ГОСТ 2642.2-86; ГОСТ 3560-73; ГОСТ 4069-69; ГОСТ 4070-83; ГОСТ 4071-80; ГОСТ 5244-79; ГОСТ 5402-81; ГОСТ 7875-83; ГОСТ 7933-75; ГОСТ 8179-85; ГОСТ 9078-84; ГОСТ 9570-84; ГОСТ 10198-78; ГОСТ 14192-77; ГОСТ 15136-78; ГОСТ 15846-79; ГОСТ 21929-76; ГОСТ 24597-81; ГОСТ 24704-81; ГОСТ 24717-81; ГОСТ 25706-83 |
| Область применения: | Настоящий стандарт распространяется на огнеупорные изделия для стабилизирующих камер газовых горелок, имеющих среднюю скорость выхода воздуха из носика горелки не более 45 м/с (при температуре воздуха 20 град. С). Стандарт не распространяется на огнеупорные изделия для стабилизирующих камер скоростных, радиационных и плоскосимметричных горелок |
| Список изменений: | №1 от 31.05.1984 (рег. 16.12.1983) «Срок действия продлен» №2 от 01.01.1989 (рег. 23.03.1988) «Срок действия продлен» |
|