| Обозначение: |  ГОСТ 22395-77 |
| Статус: | действующий |
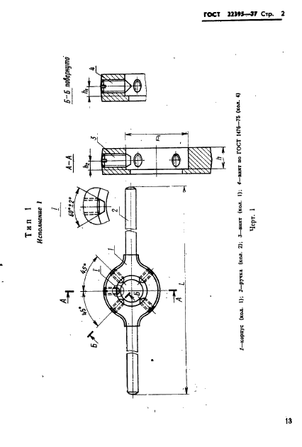
| Название рус.: | Воротки для круглых плашек диаметрами от 25 до 90 мм. Типы и основные размеры |
| Название англ.: | Stocks for round dies diameters from 25 to 90 mm. Types and basic dimensions |
| Дата актуализации текста: | 06.04.2015 |
| Дата актуализации описания: | 01.07.2023 |
| Дата издания: | 06.06.1977 |
| Дата введения: | 01.01.1979 |
| Код ОКП: | 392674 |
| Взамен: | МН 523-60 |
| Нормативные ссылки: | ГОСТ 1476-75; ГОСТ 6351-73; ГОСТ 6357-73; ГОСТ 9150-59; ГОСТ 9740-71; ГОСТ 16093-70;СТ СЭВ 144-75;СТ СЭВ 145-75 |
| Область применения: | Настоящий стандарт распространяется на воротки для круглых плашек типа 3 по ГОСТ 9740-71 с наружными диаметрами от 25 до 90 мм |
|