| Обозначение: |  ГОСТ 22706-77 |
| Статус: | действующий |
| Название рус.: | Металлы. Метод испытания на растяжение при температурах от минус 100 до минус 269 град. С |
| Название англ.: | Metals. Method for tension tests at the temperature - 100 up to - 269 deg. C |
| Дата актуализации текста: | 06.04.2015 |
| Дата актуализации описания: | 01.07.2023 |
| Дата издания: | 01.08.2000 |
| Дата введения: | 01.01.1979 |
| Нормативные ссылки: | ГОСТ 166-89; ГОСТ 427-75; ГОСТ 1497-84; ГОСТ 2789-73; ГОСТ 6507-90; ГОСТ 9293-74; ГОСТ 28840-90 |
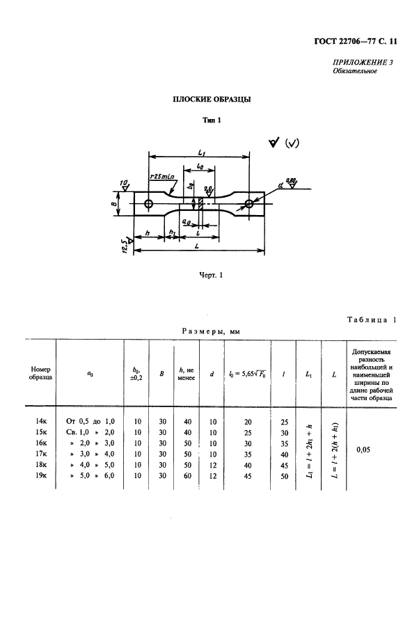
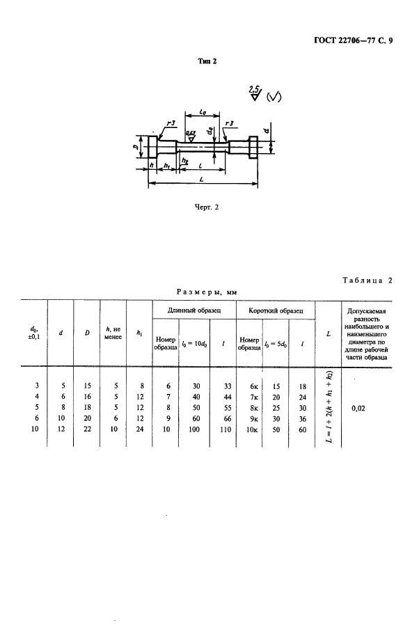
| Область применения: | Настоящий стандарт распространяется на черные и цветные металлы, сплавы и изделия из них и устанавливает метод статического испытания на растяжение для определения при температурах от минус 100 до минус 269 град. С следующих механических характеристик: - предела пропорциональности; - предела упругости; - предела текучести физического; - предела текучести условного; - временного сопротивления; - относительного равномерного удлинения; - относительного удлинения после разрыва; - относительного сужения поперечного сечения после разрыва. Стандарт не устанавливает метод статического испытания на растяжение проволоки, труб, листового металла и ленты толщиной менее 0,5 мм |
| Список изменений: | №1 от 01.09.1988 (рег. 04.04.1988) «Срок действия продлен» |
|