| Обозначение: |  ГОСТ 22402-77 |
| Статус: | действующий |
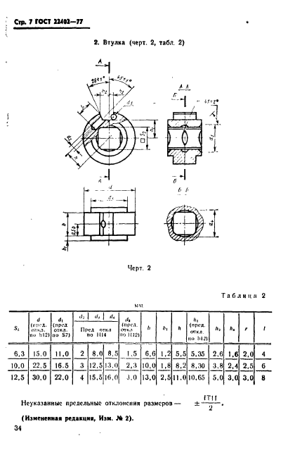
| Название рус.: | Ключи трещоточные. Типы и основные размеры |
| Название англ.: | Ratchet wrenches. Types and basic dimensions |
| Дата актуализации текста: | 06.04.2015 |
| Дата актуализации описания: | 01.07.2023 |
| Дата издания: | 01.07.1986 |
| Дата введения: | 01.01.1979 |
| Код ОКП: | 392659 |
| Взамен: | МН 521-60 |
| Содержит требования: | СТ СЭВ 599-77 |
| Нормативные ссылки: | ГОСТ 3722-81; ГОСТ 24372-80; ГОСТ 25346-82 |
| Область применения: | Настоящий стандарт распространяется на гаечные торцовые немеханизированные ключи к сменным головкам с присоединительными квадратами, изготовляемые для нужд народного хозяйства и для экспорта |
| Список изменений: | №1 от 01.01.1981 (рег. 24.08.1980) «Срок действия продлен» №2 от 01.01.1984 (рег. 20.01.1983) «Срок действия продлен» |
|