| Обозначение: |  ГОСТ 22375-77 |
| Статус: | действующий |
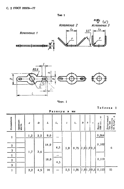
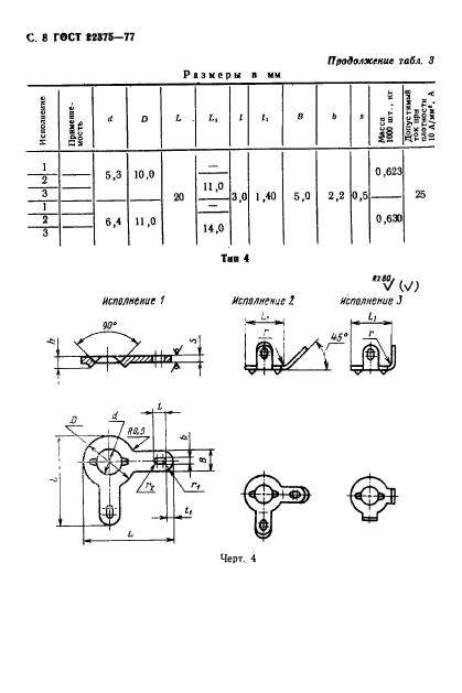
| Название рус.: | Лепестки двусторонние, закрепляемые винтами или заклепками. Конструкция и размеры |
| Название англ.: | Dual-sided leaves fixed by screws and rivets. Design and sizes |
| Дата актуализации текста: | 06.04.2015 |
| Дата актуализации описания: | 01.07.2023 |
| Дата издания: | 01.03.1991 |
| Дата введения: | 01.07.1978 |
| Код ОКП: | 106815 |
| Нормативные ссылки: | ГОСТ 9.301-86; ГОСТ 9.306-85; ГОСТ 931-78; ГОСТ 2208-75; ГОСТ 15527-70 |
| Область применения: | Настоящий стандарт распространяется на двусторонние лепестки, закрепляемые винтами или заклепками, предназначенные для электромонтажа элементов пайкой |
| Список изменений: | №1 от 01.01.1979 (рег. 24.08.1978) «Срок действия продлен» №2 от 30.06.1982 (рег. 28.01.1982) «Срок действия продлен» №3 от 01.07.1987 (рег. 23.01.1987) «Срок действия продлен» №4 от 01.01.1989 (рег. 22.12.1988) «Срок действия продлен» №5 от 01.08.1990 (рег. 27.02.1990) «Срок действия продлен» |
|