| Обозначение: |  ГОСТ 17020-78 |
| Статус: | действующий |
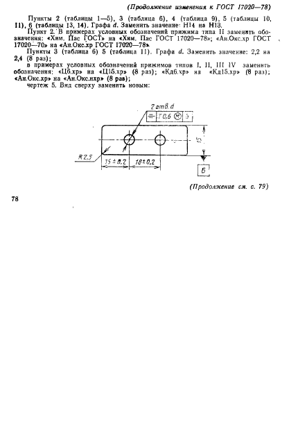
| Название рус.: | Прижимы, держатели и пояски для крепления трубопроводов и кабелей. Конструкция и размеры |
| Название англ.: | Clamps, holders and belts for fixing of pipelines and cables. Design and sizes |
| Дата актуализации текста: | 06.04.2015 |
| Дата актуализации описания: | 01.07.2023 |
| Дата издания: | 01.08.1983 |
| Дата введения: | 01.01.1979 |
| Код ОКП: | 374200 |
| Взамен: | ГОСТ 17020-71 |
| Нормативные ссылки: | ГОСТ 503-81; ГОСТ 2283-79; ГОСТ 2284-79; ГОСТ 4986-79; ГОСТ 9640-85; ГОСТ 10589-73; ГОСТ 12707-77; ГОСТ 16338-77; ГОСТ 16523-70; ГОСТ 17019-78; ГОСТ 19904-74; ГОСТ 20437-75; ГОСТ 21631-76 |
| Область применения: | Настоящий стандарт распространяется на прижимы, держатели и пояски для крепления трубопроводов и кабелей и устанавливает их конструкцию и размеры |
| Список изменений: | №1 от 01.08.1983 (рег. 30.03.1983) «Срок действия продлен» №2 от 01.01.1989 (рег. 14.01.1988) «Срок действия продлен» |
|