| Обозначение: |  ГОСТ 22962-78 |
| Статус: | действующий |
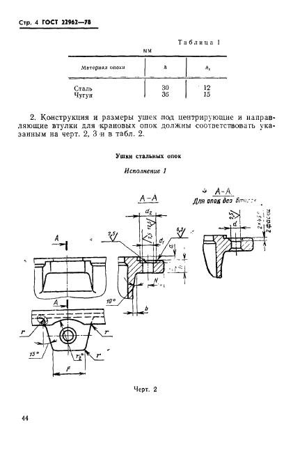
| Название рус.: | Ушки литейных цельнолитых стальных и чугунных опок под центрирующие и направляющие втулки. Конструкция и размеры |
| Название англ.: | Lugs of all-cast steel and iron moulding boxes for centering and guide bushes. Construction and dimensions |
| Дата актуализации текста: | 06.04.2015 |
| Дата актуализации описания: | 01.07.2023 |
| Дата издания: | 23.05.1978 |
| Дата введения: | 01.01.1979 |
| Код ОКП: | 396550 |
| Взамен: | МН 155-59 |
| Нормативные ссылки: | ГОСТ 2133-75; ГОСТ 8909-75; ГОСТ 15019-69 |
| Область применения: | Настоящий стандарт устанавливает конструкцию и размеры ушек под центрирующие и направляющие втулки для ручных опок |
|