| Обозначение: |  ГОСТ 23106-78 |
| Статус: | действует только в РФ |
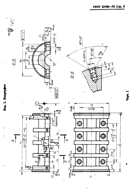
| Название рус.: | Муфты продольно-свертные. Основные параметры. Конструкция и размеры |
| Название англ.: | Longitudinal screw cap couplings. Basic parameters. Design and dimensions |
| Дата актуализации текста: | 06.04.2015 |
| Дата актуализации описания: | 01.07.2023 |
| Дата издания: | 01.06.1980 |
| Дата введения: | 01.01.1979 |
| Код ОКП: | 417112 |
| Взамен: | МН 2600-61;МН 2601-61 |
| Нормативные ссылки: | ГОСТ 9.301-86; ГОСТ 9.303-84; ГОСТ 9.306-85; ГОСТ 380-88; ГОСТ 1412-85; ГОСТ 3212-80; ГОСТ 5916-70; ГОСТ 6402-70; ГОСТ 7462-73; ГОСТ 7796-70; ГОСТ 10748-79; ГОСТ 12080-66; ГОСТ 15150-69; ГОСТ 17473-80; ГОСТ 19107-73; ГОСТ 26645-85;СТ СЭВ 536-77;СТ СЭВ 537-77 |
| Область применения: | Настоящий стандарт распространяется на муфты продольно-свертные для соединения цилиндрических валов по ГОСТ 12080-66 при передаче крутящего момента от 125 до 12500 Нюм без смягчения динамических нагрузок и компенсации смещений, климатических исполнений У и Т и категорий 1, 2, 3 и климатических исполнений УХЛ и О категории 4 по ГОСТ 15150-69 |
| Список изменений: | №1 от 01.04.1984 (рег. 27.10.1983) «Срок действия продлен» №2 от 01.01.1990 (рег. 27.03.1989) «Срок действия продлен» |
|