| Обозначение: |  ГОСТ 23102-78 |
| Статус: | действующий |
| Название рус.: | Патрубки присоединительные бортовой малогабаритной арматуры. Конструкция и размеры |
| Название англ.: | Connecting branches of smallsized board pipe fitting. Construction and dimensions |
| Дата актуализации текста: | 06.04.2015 |
| Дата актуализации описания: | 01.07.2023 |
| Дата издания: | 01.10.1984 |
| Дата введения: | 01.07.1979 |
| Код ОКП: | 370000 |
| Нормативные ссылки: | ГОСТ 13957-74; ГОСТ 16046-70; ГОСТ 16093-70; ГОСТ 24705-81 |
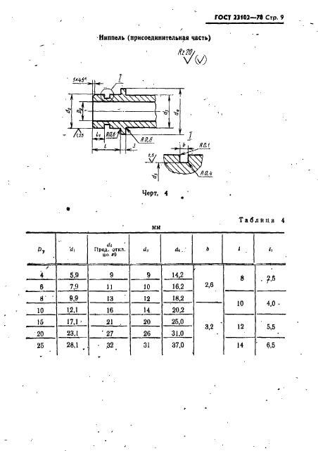
| Область применения: | Настоящий стандарт распространяется на присоединительные патрубки бортовой малогабаритной арматуры с условным проходом Dy от 2 до 25 мм и давлением рабочей среды до Py 4,0 МПа (40 кгс/см кв.), применяемые для соединения арматуры с трубопроводами. Стандарт не распространяется на патрубки арматуры, применяемой в судовых и корабельных системах |
| Список изменений: | №1 от 01.12.1980 (рег. 21.07.1980) «Срок действия продлен» №2 от 30.06.1984 (рег. 27.03.1984) «Срок действия продлен» №3 от 01.07.1989 (рег. 19.12.1988) «Срок действия продлен» |
|