| Обозначение: |  ГОСТ 17410-78 |
| Статус: | заменён |
| Название рус.: | Контроль неразрушающий. Трубы металлические бесшовные цилиндрические. Методы ультразвуковой дефектоскопии |
| Название англ.: | Non-destructive testing. Metal seamless cylindrical pipes and tubes. Ultrasonic methods of defekt detection |
| Дата актуализации текста: | 06.04.2015 |
| Дата актуализации описания: | 01.07.2023 |
| Дата издания: | 26.10.2010 |
| Дата введения: | 01.01.1980 |
| Дата окончания срока действия: | 01.08.2022 |
| Код ОКП: | 130000;180000 |
| Взамен: | ГОСТ 17410-72 |
| Заменяющий: | ГОСТ 17410-2022 |
| Нормативные ссылки: | ГОСТ 23702-90; ГОСТ 2789-73 |
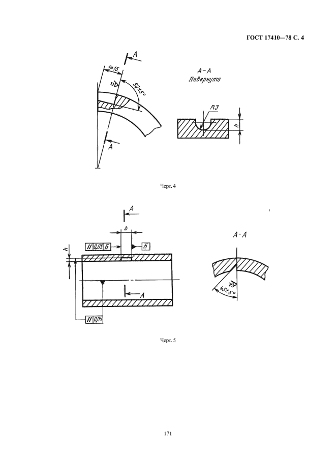
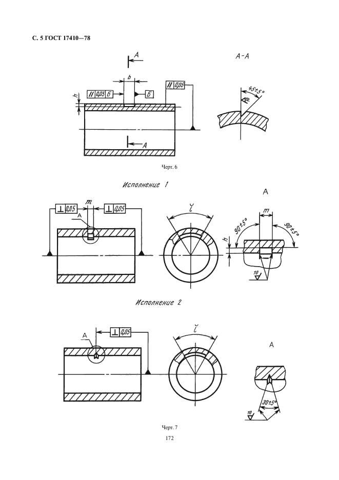
| Область применения: | Настоящий стандарт распространяется на прямые металлические однослойные бесшовные цилиндрические трубы, изготовленные из черных и цветных металлов и сплавов, и устанавливает методы ультразвуковой дефектоскопии сплошности металла труб для выявления различных дефектов (типа нарушения сплошности и однородности металла), расположенных на наружной и внутренней поверхностях, а также в толще стенок труб и обнаруживаемых ультразвуковой дефектоскопической аппаратурой. Действительные размеры дефектов, их форма и характер настоящим стандартом не устанавливаются. Необходимость проведения ультразвукового контроля, объем его и нормы недопустимых дефектов должны определяться в стандартах или технических условиях на трубы |
| Список изменений: | №1 от 01.01.1985 (рег. 11.06.1984) «Срок действия продлен» №2 от 01.01.1989 (рег. 21.06.1988) «Срок действия продлен» |
|