| Обозначение: |  ГОСТ 22965-78 |
| Статус: | действующий |
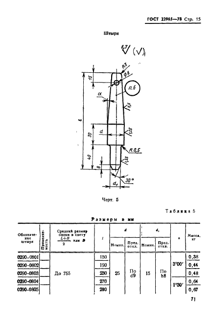
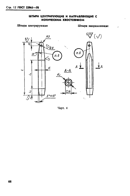
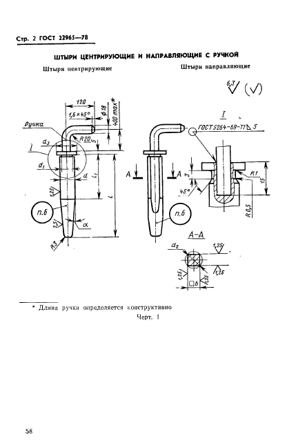
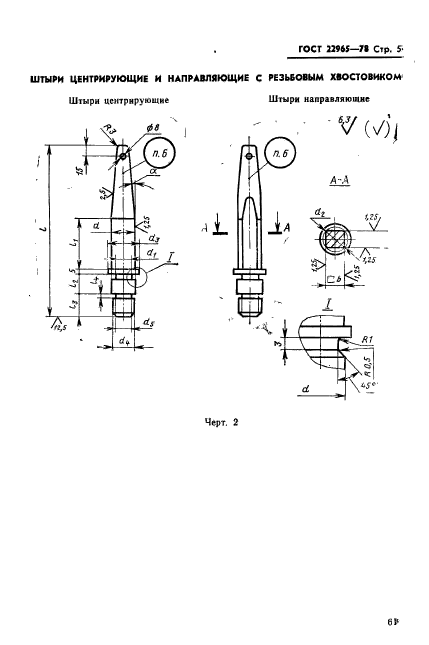
| Название рус.: | Штыри для литейных опок. Конструкция и размеры |
| Название англ.: | Pins for moulding boxes. Construction and dimensions |
| Дата актуализации текста: | 06.04.2015 |
| Дата актуализации описания: | 01.07.2023 |
| Дата издания: | 23.05.1978 |
| Дата введения: | 01.01.1979 |
| Код ОКП: | 396190 |
| Взамен: | МН 154-59;МН 159-59 |
| Нормативные ссылки: | ГОСТ 535-79; ГОСТ 1050-74; ГОСТ 2590-71; ГОСТ 5264-80; ГОСТ 9150-81; ГОСТ 16093-81 |
| Область применения: | Настоящий стандарт устанавливает конструкцию и размеры центрирующих и направляющих штырей |
| Список изменений: | №1 от 01.12.1983 (рег. 10.07.1983) «Срок действия продлен» |
|