| Обозначение: |  ГОСТ 23215-78 |
| Статус: | действующий |
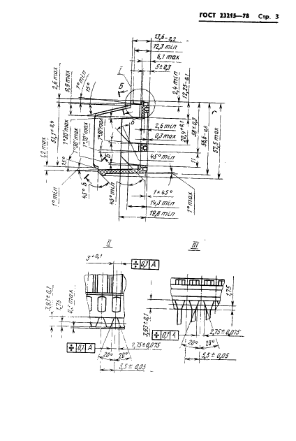
| Название рус.: | Диамагазин для малоформатных диапроекторов. Конструкция |
| Название англ.: | Slide tray for miniatureformat seide projectors. Design |
| Дата актуализации текста: | 06.04.2015 |
| Дата актуализации описания: | 01.01.2021 |
| Дата издания: | 03.10.1978 |
| Дата введения: | 01.01.1980 |
| Код ОКП: | 444391 |
| Нормативные ссылки: | ГОСТ 17558-81 |
| Область применения: | Настоящий стандарт распространяется на прямые диамагазины для диапозитивных рамок размером 50х50 мм |
| Список изменений: | №1 от 01.01.1989 (рег. 26.07.1987) «Поправка» |
|