| Обозначение: |  ГОСТ 14864-78 |
| Статус: | действующий |
| Название рус.: | Пробки пневматические для отверстий диаметром от 3 до 160 мм. Технические условия |
| Название англ.: | Pneumatic plug gauges from 3 to 160 mm. Specifications |
| Дата актуализации текста: | 06.04.2015 |
| Дата актуализации описания: | 01.07.2023 |
| Дата издания: | 01.07.1990 |
| Дата введения: | 01.01.1980 |
| Код ОКП: | 394327 |
| Взамен: | ГОСТ 14864-69 |
| Нормативные ссылки: | ГОСТ 801-78; ГОСТ 2789-73; ГОСТ 5949-75; ГОСТ 13762-86; ГОСТ 25347-82;РД 50-690-89 |
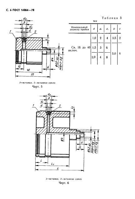
| Область применения: | Настоящий стандарт распространяется на измерительные пробки к пневматическим приборам и измерительным устройствам, контролирующим сквозные и глухие отверстия диаметром от 3 до 160 мм |
| Список изменений: | №1 от 01.01.1988 (рег. 14.07.1987) «Срок действия продлен» №2 от 01.01.1990 (рег. 21.10.1988) «Срок действия продлен» |
|