| Обозначение: |  ГОСТ 22958-78 |
| Статус: | действующий |
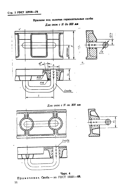
| Название рус.: | Приливы для ручек, скоб и цапф литейных цельнолитых стальных и чугунных опок. Конструкция и размеры |
| Название англ.: | Pads for handles, cramps and frunnions of all-cast steel and iron moulding boxes. Construction and dimensions |
| Дата актуализации текста: | 06.04.2015 |
| Дата актуализации описания: | 01.12.2024 |
| Дата издания: | 23.05.1978 |
| Дата введения: | 01.01.1979 |
| Код ОКП: | 396190 |
| Взамен в части: | МН 145-59 в части залитых и вставных ручек и скоб; МН 148-59 в части залитых цапф; МН 150-59 в части залитых цапф |
| Нормативные ссылки: | ГОСТ 8909-75; ГОСТ 15020-69; ГОСТ 15021-69; ГОСТ 15022-69 |
| Область применения: | Настоящий стандарт устанавливает конструкцию и размеры приливов для ручных опок |
| Список изменений: | №1 от 01.12.1983 (рег. 10.07.1983) «Срок действия продлен» |
|