| Обозначение: |  ГОСТ 23486-79 |
| Статус: | не действует в РФ |
| Название рус.: | Панели металлические трехслойные стеновые с утеплителем из пенополиуретана. Технические условия |
| Название англ.: | Wall metal-faced sandwich panels with polyurethane foam thermal insulation. Specifications |
| Дата актуализации текста: | 06.04.2015 |
| Дата актуализации описания: | 01.07.2023 |
| Дата издания: | 30.08.1979 |
| Дата введения: | 01.01.1980 |
| Дата окончания срока действия: | 01.09.2022 |
| Код ОКП: | 527200;528400 |
| На территории РФ пользоваться: | ГОСТ Р 59685-2021 |
| Нормативные ссылки: | ГОСТ 409-77; ГОСТ 7076-78; ГОСТ 7855-74; ГОСТ 14918-69; ГОСТ 18321-73; ГОСТ 21562-76; ГОСТ 21631-76; ГОСТ 22695-77; ГОСТ 23404-78;ОСТ 1-92006-71;СНиП II-28-73 |
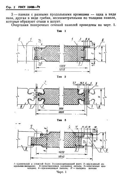
| Область применения: | Настоящий стандарт распространяется на металлические трехслойные панели с утеплителем из заливочного пенополиуретана, изготовляемые механизированными способами (непрерывным или стендовым) и предназначаемые для стен производственных зданий промышленных предприятий, эксплуатируемых в неагрессивных, слабоагрессивных, среднеагрессивных средах при температуре наружной поверхности панели от минус 65 до плюс 75 град. С, температуре внутренней поверхности панели до плюс 30 град. С, относительной влажности воздуха внутри помещений не более 60 % |
|