| Обозначение: |  ГОСТ 16983-80 |
| Статус: | действующий |
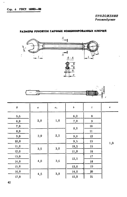
| Название рус.: | Ключи гаечные комбинированные. Конструкция и размеры |
| Название англ.: | Combination spanners. Construction and dimensions |
| Дата актуализации текста: | 06.04.2015 |
| Дата актуализации описания: | 01.07.2023 |
| Дата издания: | 01.09.1986 |
| Дата введения: | 01.01.1981 |
| Код ОКП: | 392651 |
| Взамен: | ГОСТ 16983-71 |
| Содержит требования: | СТ СЭВ 1293-84 |
| Нормативные ссылки: | ГОСТ 4543-71; ГОСТ 2838-80; ГОСТ 2839-80; ГОСТ 7505-74 |
| Область применения: | Настоящий стандарт распространяется на гаечные комбинированные ключи с открытым и кольцевым зевами размерами от 5,5 до 55 мм, изготовляемые для нужд народного хозяйства и для экспорта |
| Список изменений: | №0 от 01.11.2009 (рег. 01.11.2009) «Дата введения перенесена» №1 от 30.06.1986 (рег. 24.10.1985) «Срок действия продлен» |
| Приложение №1: | Поправка к ГОСТ 16983-80 |
|