| Обозначение: |  ГОСТ 14695-80 |
| Статус: | действующий |
| Название рус.: | Подстанции трансформаторные комплектные мощностью от 25 до 2500 кВ*А на напряжение до 10 кВ. Общие технические условия |
| Название англ.: | Enclosed transformer substations of output from 25 to 2500 kVxA, for voltages up to 10 kV inclusive. General specifications |
| Дата актуализации текста: | 06.04.2015 |
| Дата актуализации описания: | 01.07.2023 |
| Дата издания: | 01.12.1985 |
| Дата введения: | 01.01.1983 |
| Код ОКП: | 341200;341100 |
| Взамен: | ГОСТ 14695-73; ГОСТ 18279-72 |
| Содержит требования: | СТ СЭВ 1127-78 |
| Нормативные ссылки: | ГОСТ 2.601-68; ГОСТ 4.316-85; ГОСТ 9.032-74; ГОСТ 12.2.007.0-75; ГОСТ 12.2.007.4-75; ГОСТ 1516.1-76; ГОСТ 8024-84; ГОСТ 9920-75; ГОСТ 10434-82; ГОСТ 11677-85; ГОСТ 12434-83; ГОСТ 12969-67; ГОСТ 14192-77; ГОСТ 14254-80; ГОСТ 14693-77; ГОСТ 15150-69; ГОСТ 15543-70; ГОСТ 16511-86; ГОСТ 16555-75; ГОСТ 17516-72; ГОСТ 20248-82; ГОСТ 21242-75; ГОСТ 23216-78 |
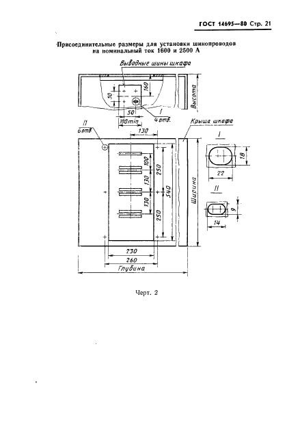
| Область применения: | Настоящий стандарт распространяется на комплектные трансформаторные подстанции (КТП) трехфазного переменного тока частоты 50 и 60 Гц на напряжение до 10 кВ общего назначения, предназначенные для приема, преобразования и распределения электроэнергии, видов климатических исполнений У1, У3, ХЛ1.Стандарт не распространяется на КТП: работающие в среде, содержащей едкие пары и газы, работающие в среде, разрушающие металлы и изоляцию; специальные КТП, предназначенные для подвижных установок и для питания отдельных электроприводов целевого назначения; взрывозащищенные и рудничные КТП |
| Список изменений: | №1 от 01.06.1983 (рег. 11.02.1983) «Срок действия продлен» №2 от 01.01.1986 (рег. 20.06.1985) «Срок действия продлен» №3 от 01.01.1988 (рег. 20.05.1987) «Срок действия продлен» №4 от 01.01.1988 (рег. 20.09.1987) «Срок действия продлен» №5 от 01.07.1990 (рег. 21.02.1990) «Срок действия продлен» |
|