| Обозначение: |  ГОСТ 24354-80 |
| Статус: | действующий |
| Название рус.: | Индикаторы знакосинтезирующие полупроводниковые. Основные размеры |
| Название англ.: | Semiconductor character displays. Basic dimensions |
| Дата актуализации текста: | 06.04.2015 |
| Дата актуализации описания: | 01.01.2021 |
| Дата издания: | 01.06.1990 |
| Дата введения: | 01.01.1982 |
| Код ОКП: | 621000 |
| Нормативные ссылки: | ГОСТ 25066-81 |
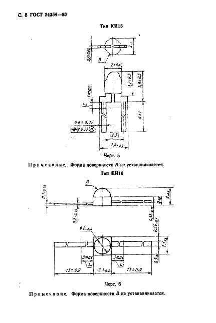
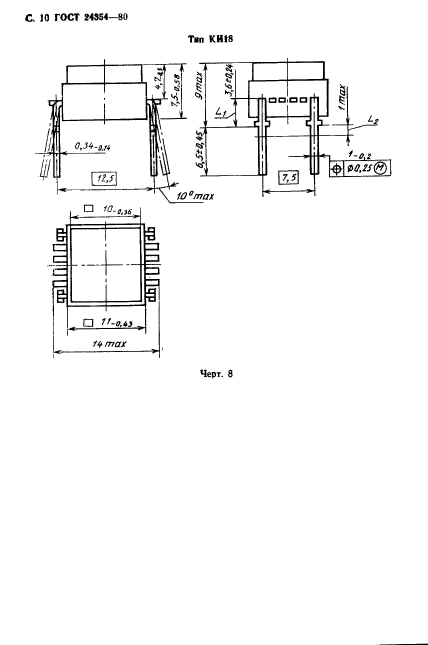
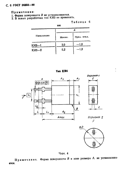
| Область применения: | Настоящий стандарт распространяется на полупроводниковые знакосинтезирующие индикаторы и устанавливает типы корпусов, габаритные и присоединительные размеры индикаторов, высоту знаков и элементов отображения шкальных индикаторов, шаги между знаками, элементами отображения шкальных индикаторов и модулей экрана |
| Список изменений: | №1 от 01.07.1990 (рег. 15.02.1990) «Поправка» |
|