| Обозначение: |  ГОСТ 20398.10-80 |
| Статус: | действующий |
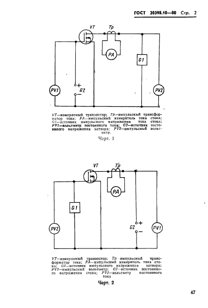
| Название рус.: | Транзисторы полевые. Метод измерения тока стока в импульсном режиме |
| Название англ.: | Field-effect transistors. Drain current for Vgs=0 impulse measurement technique |
| Дата актуализации текста: | 06.04.2015 |
| Дата актуализации описания: | 01.01.2021 |
| Дата издания: | 01.03.1984 |
| Дата введения: | 01.01.1982 |
| Код ОКП: | 622100 |
| Нормативные ссылки: | ГОСТ 20398.0-74 |
| Область применения: | Настоящий стандарт распространяется на полевые транзисторы средней и большой мощности и на СВЧ полевые транзисторы малой мощности с начальным током стока более 15 мА и устанавливает метод измерения тока стока, начального тока стока и остаточного тока стока, превышающего 100 мА в импульсном режиме |
|