| Обозначение: |  ГОСТ 18816-80 |
| Статус: | действующий |
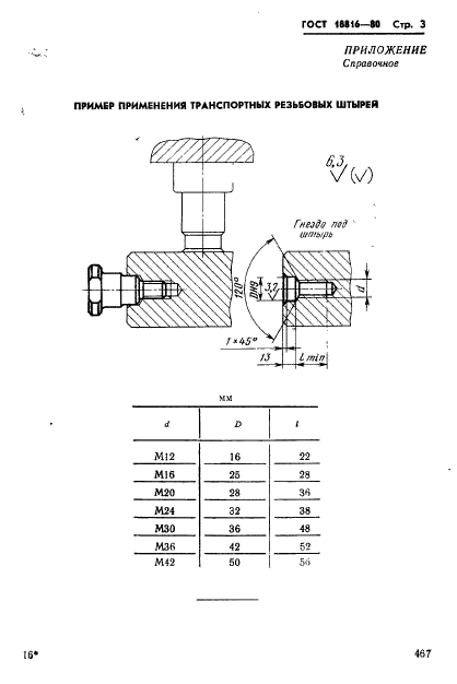
| Название рус.: | Штыри транспортные резьбовые. Конструкция и размеры |
| Название англ.: | Handling threaded dowel. Design and dimensions |
| Дата актуализации текста: | 06.04.2015 |
| Дата актуализации описания: | 01.01.2021 |
| Дата издания: | 01.12.1986 |
| Дата введения: | 01.01.1982 |
| Код ОКП: | 396330 |
| Взамен: | ГОСТ 18816-73 |
| Область применения: | Настоящий стандарт распространяется на штампы листовой штамповки и устанавливает конструкцию и размеры штырей транспортных резьбовых |
|