| Обозначение: |  ГОСТ 8570-80 |
| Статус: | действующий |
| Название рус.: | Шеверы дисковые. Технические условия |
| Название англ.: | Disk shavers. Specifications |
| Дата актуализации текста: | 06.04.2015 |
| Дата актуализации описания: | 01.07.2023 |
| Дата издания: | 01.09.1984 |
| Дата введения: | 01.07.1981 |
| Код ОКП: | 392430 |
| Взамен: | ГОСТ 8570-57 |
| Содержит требования: | СТ СЭВ 881-78;СТ СЭВ 882-78;СТ СЭВ 4172-83 |
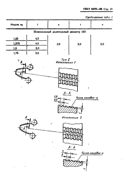
| Область применения: | Настоящий стандарт распространяется на дисковые шеверы, предназначенные для обработки цилиндрических зубчатых колес, изготовляемые для нужд народного хозяйства и для экспорта |
| Список изменений: | №1 от 01.01.1985 (рег. 23.04.1984) «Срок действия продлен» №2 от 01.10.1987 (рег. 23.03.1987) «Срок действия продлен» №3 от 01.09.1990 (рег. 05.02.1990) «Срок действия продлен» |
|