| Обозначение: |  ГОСТ 24283-80 |
| Статус: | заменён |
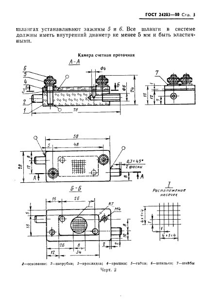
| Название рус.: | Консервы гомогенизированные для детского питания. Метод определения качества измельчения |
| Название англ.: | Homogenized preserved food for children. Method for determination of the quality of cutting into small pieces |
| Дата актуализации текста: | 06.04.2015 |
| Дата актуализации описания: | 01.07.2023 |
| Дата издания: | 01.12.1986 |
| Дата введения: | 01.07.1981 |
| Дата окончания срока действия: | 01.01.2016 |
| Код ОКП: | 916361 |
| Заменяющий: | ГОСТ 24283-2014 |
| Взамен в части: | ГОСТ 5.1403-72 в части п. 4.3 |
| Нормативные ссылки: | ГОСТ 1770-74; ГОСТ 6709-72; ГОСТ 8284-78; ГОСТ 20292-74; ГОСТ 23676-79; ГОСТ 23932-79; ГОСТ 24104-80; ГОСТ 25336-82; ГОСТ 26313-84 |
| Область применения: | Настоящий стандарт распространяется на плодовые, ягодные, овощные и овоще-плодовые гомогенизированные консервы детского питания и устанавливает метод определения качества измельчения |
| Список изменений: | №1 от 01.05.1986 (рег. 12.11.1985) «Срок действия продлен» |
|