| Обозначение: |  ГОСТ 24544-81 |
| Статус: | заменён |
| Название рус.: | Бетоны. Методы определения деформаций усадки и ползучести |
| Название англ.: | Concretes. Methods of shrinkage and creep flow determination |
| Дата актуализации текста: | 06.04.2015 |
| Дата актуализации описания: | 01.07.2023 |
| Дата издания: | 01.11.1987 |
| Дата введения: | 01.01.1982 |
| Дата окончания срока действия: | 01.06.2021 |
| Код ОКП: | 574510 |
| Заменяющий: | ГОСТ 24544-2020 |
| Нормативные ссылки: | ГОСТ 8.001-80; ГОСТ 2102-67; ГОСТ 10180-78; ГОСТ 10354-73; ГОСТ 10587-76; ГОСТ 12730.1-78; ГОСТ 12730.2-78; ГОСТ 16960-71; ГОСТ 24452-80;МУ 8.7-77;СТУ 49-2529-62;СНиП III-4-79 |
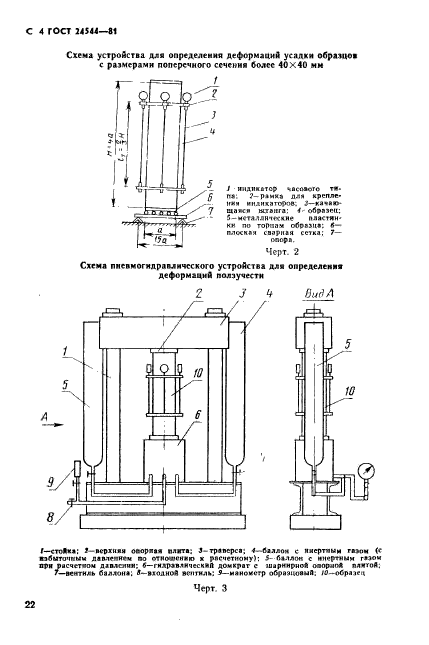
| Область применения: | Настоящий стандарт распространяется на все виды цементных, а также силикатных бетонов, применяемых в промышленном, энергетическом, транспортном, водохозяйственном, жилищно-гражданском и сельскохозяйственном строительстве, в том числе на бетоны, подвергающиеся в процессе эксплуатации нагреву, насыщению водой или нефтепродуктами |
| Список изменений: | №1 от 01.01.1986 (рег. 12.05.1985) «Срок действия продлен» |
|