| Обозначение: |  ГОСТ 31.1066.04-97 |
| Статус: | действующий |
| Название рус.: | Приспособления к металлорежущим станкам. Оправки кулачковые. Общие технические условия |
| Название англ.: | Attachments for metal-cutting tools. Cam arbors. General specifications |
| Дата актуализации текста: | 06.04.2015 |
| Дата актуализации описания: | 01.07.2023 |
| Дата регистрации: | 21.11.1997 |
| Дата издания: | 01.11.2005 |
| Дата введения: | 01.01.1999 |
| Код ОКП: | 396100 |
| Взамен: | ГОСТ 17528-72; ГОСТ 17529-72; ГОСТ 17530-72; ГОСТ 17531-72 |
| Нормативные ссылки: | ГОСТ 2.601-95; ГОСТ 9.014-78; ГОСТ 9.302-88; ГОСТ 9.306-85; ГОСТ 12.2.029-88; ГОСТ 1478-93; ГОСТ 1759.0-87; ГОСТ 2789-73; ГОСТ 2848-75; ГОСТ 4543-71; ГОСТ 5950-2000; ГОСТ 8820-69; ГОСТ 9012-59; ГОСТ 9378-93; ГОСТ 9389-75; ГОСТ 10549-80; ГОСТ 13941-86; ГОСТ 13942-86; ГОСТ 14192-96; ГОСТ 14959-79; ГОСТ 15150-69; ГОСТ 16093-2004; ГОСТ 16118-70; ГОСТ 22038-76; ГОСТ 22267-76; ГОСТ 24705-2004; ГОСТ 25557-82 |
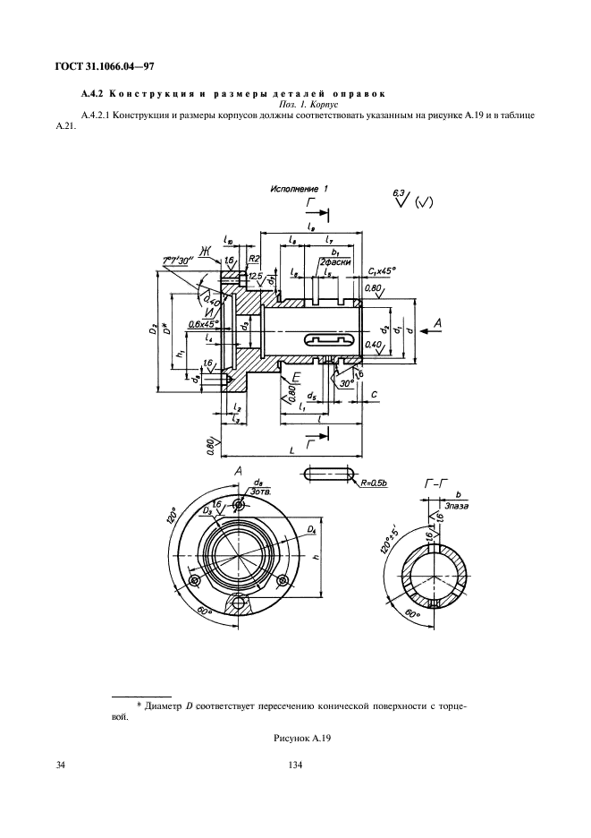
| Область применения: | Настоящий стандарт распространяется на кулачковые шпиндельные оправки и кулачковые фланцевые оправки, предназначенные для установки и закрепления толстостенных заготовок при механической обработке на металлорежущих станках |
|