| Обозначение: |  ГОСТ 28213-89 |
| Статус: | действующий |
| Название рус.: | Основные методы испытаний на воздействие внешних факторов. Часть 2. Испытания. Испытание Еа и руководство: Одиночный удар |
| Название англ.: | Basic environmental testing prosedures. Part 2. Tests. Test Ea and guidance: Shock |
| Дата актуализации текста: | 06.04.2015 |
| Дата актуализации описания: | 01.07.2023 |
| Дата издания: | 01.08.2006 |
| Дата введения: | 01.03.1990 |
| Содержит требования: | IEC 60068-2-27(1987) |
| Нормативные ссылки: | IEC 60068-1(1988);IEC 60068-2-27(1987);IEC 60068-2-29(1987);IEC 60068-2-31(1969);IEC 60068-2-32(1975);IEC 60068-2-47(1982);IEC 60068-2-55(1987) |
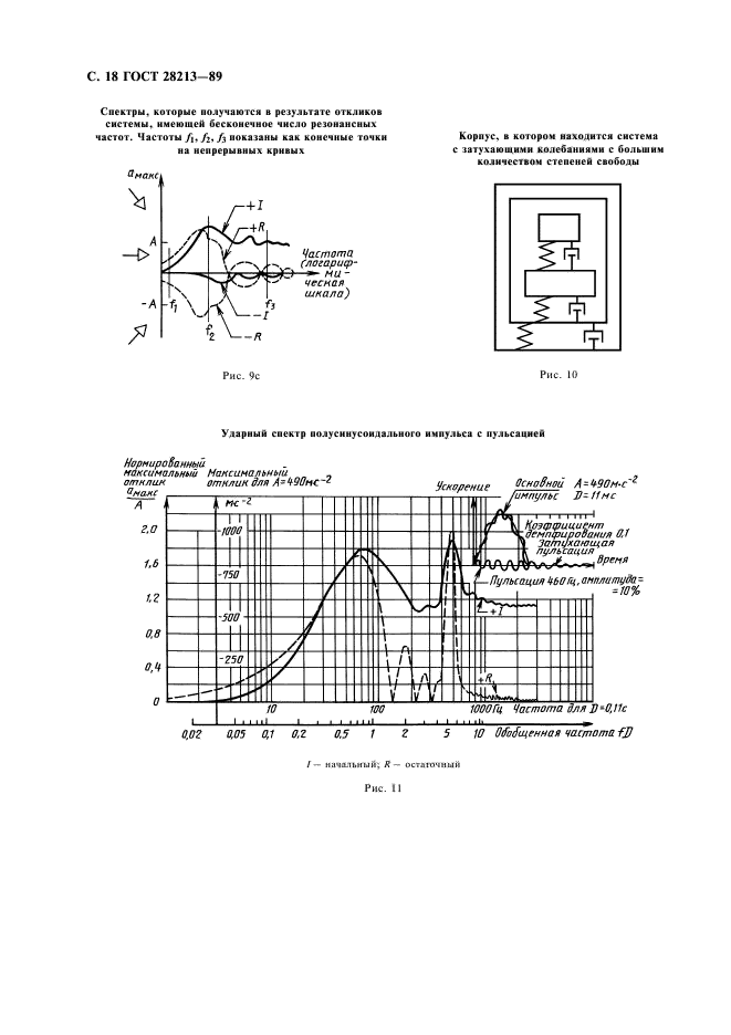
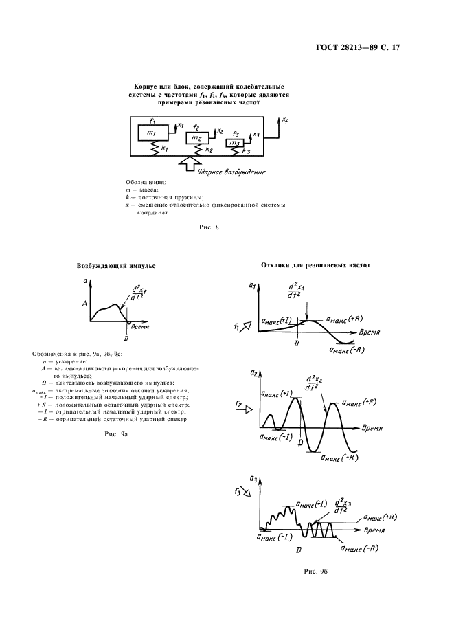
| Область применения: | Настоящее испытание применяется для элементов, аппаратуры и других электротехнических изделий, которые во время транспортирования или эксплуатации подвергаются относительно нечастым одиночным ударам |
|