Скачать ГОСТ 25154-82 Зажимы контактные наборные с плоскими выводами. Конструкция, основные параметры и размерыДата актуализации: 01.06.2025 ГОСТ 25154-82
Зажимы контактные наборные с плоскими выводами. Конструкция, основные параметры и размеры
| Обозначение: |  ГОСТ 25154-82 |
| Статус: | действующий |
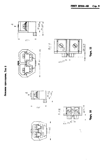
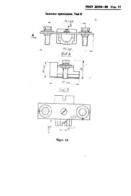
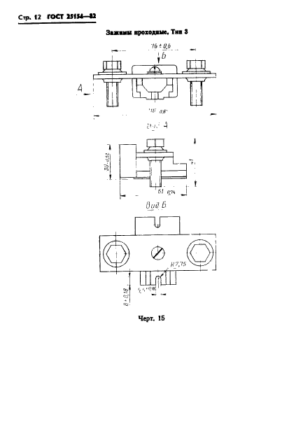
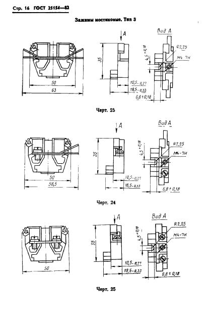
| Название рус.: | Зажимы контактные наборные с плоскими выводами. Конструкция, основные параметры и размеры | | Название англ.: | Terminal contact blocks with flat terminals. Design, main parametrs and dimensions | | Дата актуализации текста: | 06.04.2015 | | Дата актуализации описания: | 01.01.2021 | | Дата издания: | 24.05.1982 | | Дата введения: | 01.01.1984 | | Код ОКП: | 342949 | | Область применения: | Настоящий стандарт распространяется на наборные контактные зажимы с плоскими выводами проходные и специальные (мостиковые, разъединительные и измерительные) и колодки торцовые зажимов, соединяемые в разборные блоки, и на неразборные блоки, предназначенные для присоединения и ответвления проводников из меди, алюмомедных, алюминиевых и из алюминиевых сплавов сечением от 0,35 до 370 мм кв. | | Список изменений: | №0 от 01.06.1988 (рег. 31.05.1988) «Срок действия продлен» | |
                                    
|