| Обозначение: |  ГОСТ 25531-82 |
| Статус: | действует только в РФ |
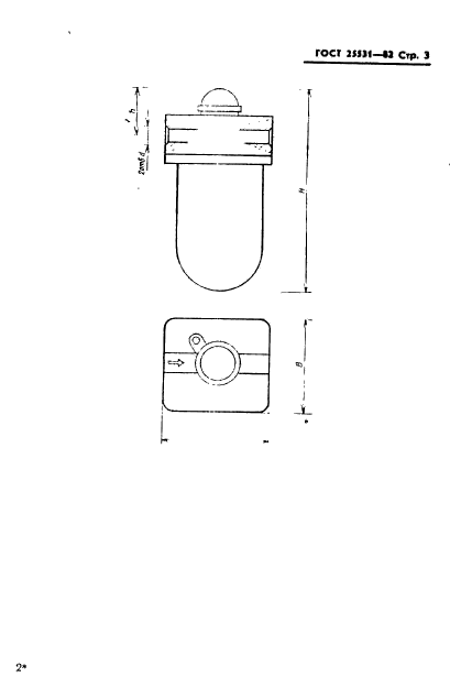
| Название рус.: | Маслораспылители. Технические условия |
| Название англ.: | Lubricators. Specifications |
| Дата актуализации текста: | 06.04.2015 |
| Дата актуализации описания: | 01.07.2023 |
| Дата издания: | 04.02.1983 |
| Дата введения: | 01.01.1984 |
| Код ОКП: | 415257 |
| Содержит требования: | СТ СЭВ 4895-84;СТ СЭВ 3591-82 |
| Список изменений: | №1 от 30.06.1986 (рег. 10.11.1985) «Срок действия продлен» №2 от 01.01.1989 (рег. 30.05.1988) «Срок действия продлен» |
|