| Обозначение: |  ГОСТ 26140-84 |
| Статус: | действующий |
| Название рус.: | Аппараты рентгеновские медицинские. Общие технические условия |
| Название англ.: | X-ray medical apparatus. General specifications |
| Дата актуализации текста: | 06.04.2015 |
| Дата актуализации описания: | 01.12.2024 |
| Дата издания: | 01.08.1990 |
| Дата введения: | 01.07.1985 |
| Код ОКП: | 944220;944452 |
| Взамен в части: | ГОСТ 12.2.018-76 в части медицинских рентгеновских аппаратов; ГОСТ 7248-75 в части медицинских рентгеновских аппаратов |
| Нормативные ссылки: | IEC 60407;IEC 60601-1; ГОСТ 2.601-68; ГОСТ 9.014-78; ГОСТ 9.032-74; ГОСТ 9.104-79; ГОСТ 9.301-86; ГОСТ 12.1.003-83; ГОСТ 12.2.007.0-75; ГОСТ 15.001-88; ГОСТ 2991-85; ГОСТ 5959-80; ГОСТ 8490-77; ГОСТ 8711-78; ГОСТ 10198-78; ГОСТ 12082-82; ГОСТ 12969-67; ГОСТ 14192-77; ГОСТ 14225-83; ГОСТ 14254-80; ГОСТ 15150-69; ГОСТ 15151-69; ГОСТ 15846-79; ГОСТ 16842-82; ГОСТ 16962-71; ГОСТ 17512-82; ГОСТ 17516-72; ГОСТ 18311-80; ГОСТ 21631-76; ГОСТ 22091.10-84; ГОСТ 23337-78; ГОСТ 23511-79; ГОСТ 25272-82; ГОСТ 26014-83; ГОСТ 26964-86;Нормы 8-72;НРБ-76/87;Нормы № 3057-84 |
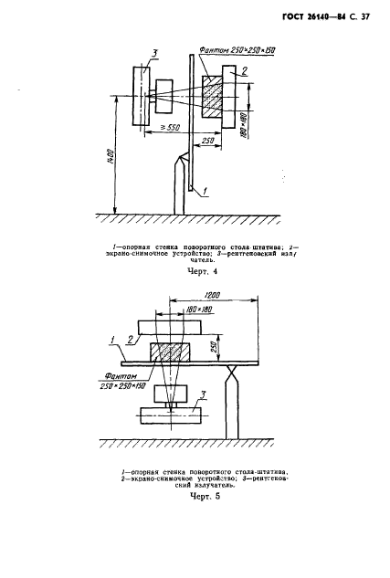
| Область применения: | Настоящий стандарт распространяется на медицинские рентгеновские аппараты и комплексы с анодным напряжением рентгеновской трубки от 10 до 400 кВ, предназначенные для рентгенодиагностики и рентгенотерапии, с питанием электрической энергией от источников переменного тока. Стандарт не распространяется на импульсные аппараты с длительностью импульса менее 0,1 мс, на вычислительные томографы, на аппараты с накопителями энергии и преобразованием частоты в главной цепи, а также на дентальные рентгеновские аппараты с анодным напряжением свыше 125 кВ, электрорентгенографические и перевозимые аппараты |
| Список изменений: | №1 от 31.03.1986 (рег. 07.01.1986) «Срок действия продлен» №2 от 01.07.1988 (рег. 27.01.1988) «Срок действия продлен» №3 от 01.07.1990 (рег. 23.11.1989) «Срок действия продлен» |
|