| Обозначение: |  ГОСТ 26239.4-84 |
| Статус: | действующий |
| Название рус.: | Дихлорсилан. Методы определения примесей |
| Название англ.: | Dichlorsilane. Methods of inpurities determination |
| Дата актуализации текста: | 06.04.2015 |
| Дата актуализации описания: | 01.07.2023 |
| Дата издания: | 21.01.1985 |
| Дата введения: | 01.01.1986 |
| Нормативные ссылки: | ГОСТ 123-78; ГОСТ 804-72; ГОСТ 849-70; ГОСТ 859-78; ГОСТ 860-75; ГОСТ 1277-75; ГОСТ 3640-79; ГОСТ 3778-77; ГОСТ 5905-79; ГОСТ 6008-82; ГОСТ 6836-80; ГОСТ 8321-74; ГОСТ 10297-75; ГОСТ 10691.0-84; ГОСТ 10928-75; ГОСТ 11069-74; ГОСТ 11125-84; ГОСТ 13637.1-77; ГОСТ 13874-83; ГОСТ 14261-77; ГОСТ 16024-79; ГОСТ 17746-79; ГОСТ 18300-87; ГОСТ 20292-74; ГОСТ 23463-79; ГОСТ 26239.0-84 |
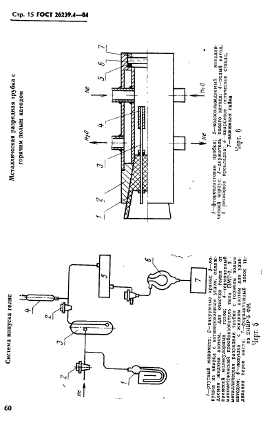
| Область применения: | Настоящий стандарт устанавливает два метода определения примесей в дихлорсилане: химико-атомно-эмиссионный с возбуждением спектров дугой постоянного тока и химико-атомно-эмиссионный с возбуждением спектров разрядом с горячим полым катодом |
| Список изменений: | №1 от 01.01.1991 (рег. 25.06.1990) «Срок действия продлен» |
|