| Обозначение: |  ГОСТ 16330-85 |
| Статус: | действующий |
| Название рус.: | Системы обработки информации. Шрифты для оптического чтения. Типы, основные параметры и размеры |
| Название англ.: | Information processing systems. Founts for optical character recognition. Types basis parameters and dimensions |
| Дата актуализации текста: | 06.04.2015 |
| Дата актуализации описания: | 01.07.2023 |
| Дата издания: | 07.04.1986 |
| Дата введения: | 01.07.1986 |
| Код ОКП: | 403500 |
| Взамен: | ГОСТ 16330-70 |
| Нормативные ссылки: | ISO 1073-1:1976;ISO 1073-2:1976; ГОСТ 6.10.3-83; ГОСТ 13699-80; ГОСТ 28540-90 |
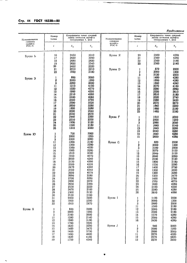
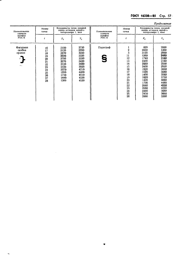
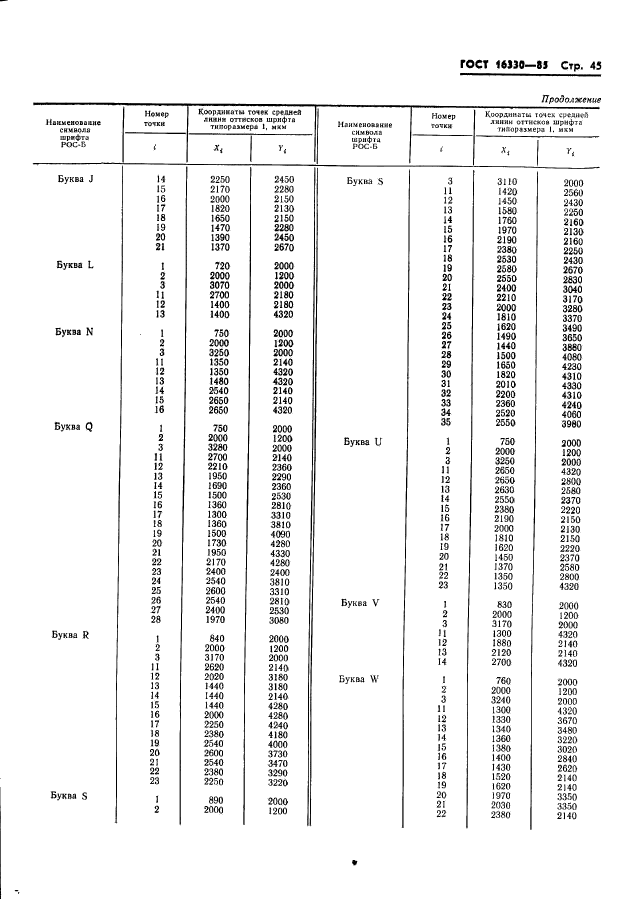
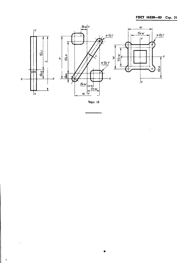
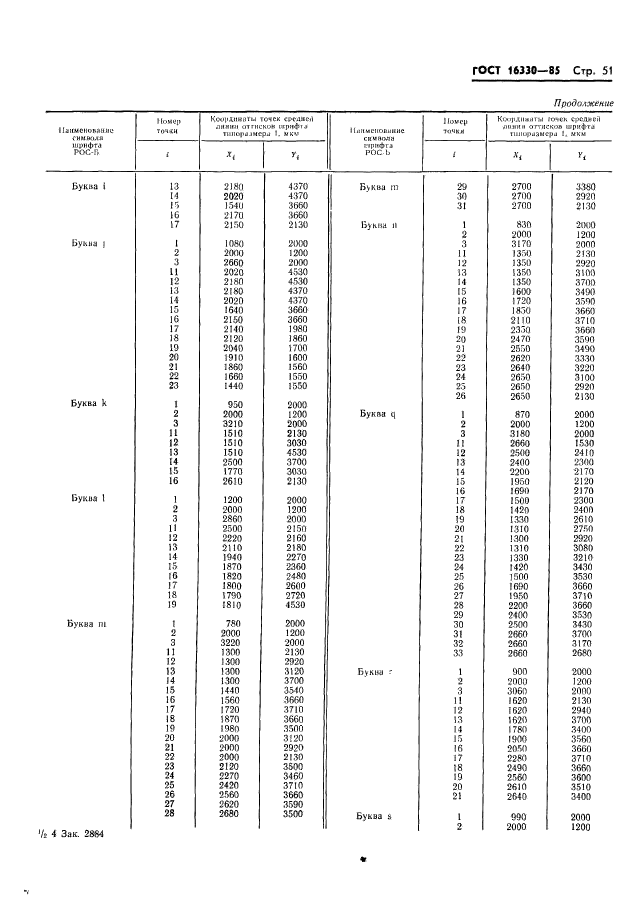
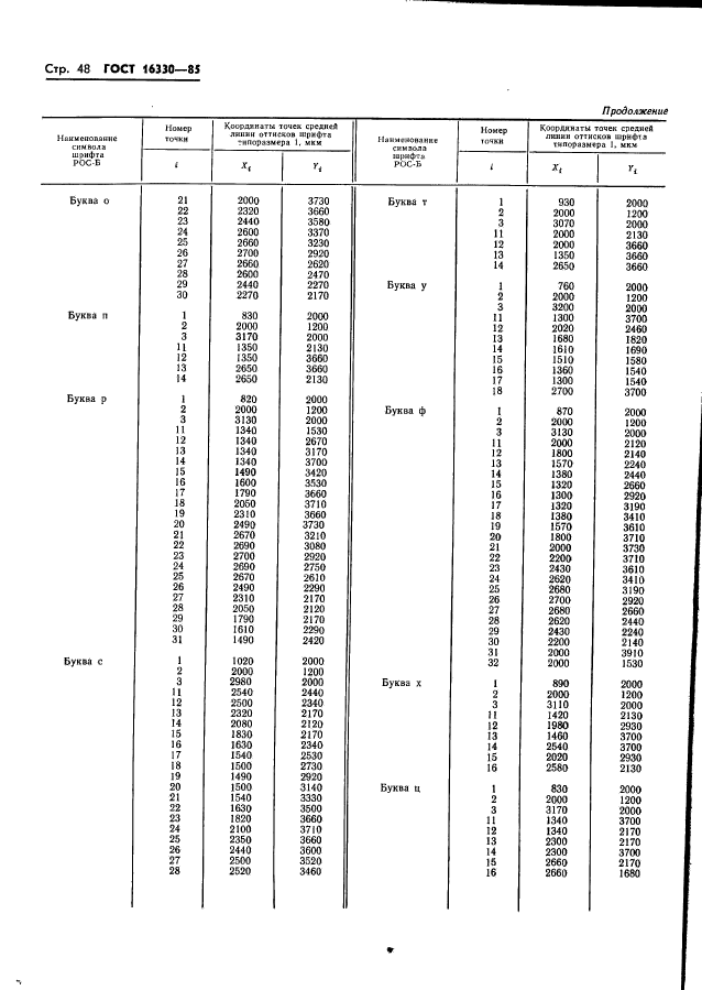
| Область применения: | Настоящий стандарт распространяется на печатные и рукописные шрифты для оптического чтения (типа "РОС") и устанавливает типы, состав, форму и размеры оттисков шрифтов, напечатанных или написанных оптически контрастной краской на машиночитаемом документе и предназначенных для автоматического чтения с помощью оптических читающих устройств в системах обработки информации и для визуального чтения |
| Список изменений: | №1 от 01.10.1991 (рег. 28.03.1991) «Срок действия продлен» |
|