| Обозначение: |  ГОСТ 21668-85 |
| Статус: | действующий |
| Название рус.: | Знаки геодезические металлические. Типы, основные параметры и размеры. Технические требования |
| Название англ.: | Surveying metallic signals. Types, basic parameters and sizes. Technical requirements |
| Дата актуализации текста: | 06.04.2015 |
| Дата актуализации описания: | 01.07.2023 |
| Дата издания: | 06.06.1985 |
| Дата введения: | 01.07.1986 |
| Взамен: | ГОСТ 21668-76 |
| Нормативные ссылки: | ГОСТ 6244-70; ГОСТ 9754-76; ГОСТ 19903-74 |
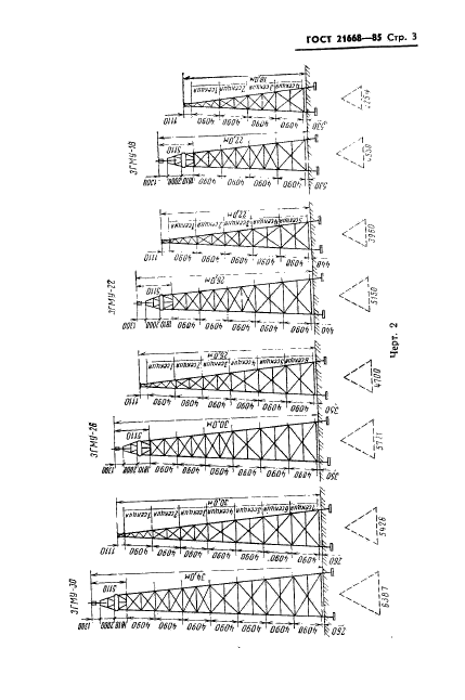
| Область применения: | Настоящий стандарт распространяется на металлические геодезические знаки и устанавливает их типы, основные параметры, размеры и технические требования |
| Список изменений: | №1 от 01.07.1991 (рег. 18.12.1990) «Срок действия продлен» |
|