| Обозначение: |  ГОСТ 22687.2-85 |
| Статус: | действующий |
| Название рус.: | Стойки цилиндрические железобетонные центрифугированные для опор высоковольтных линий электропередачи. Конструкция и размеры |
| Название англ.: | Centrifugal cylinder reinforced concrete posts for high-voltage transmission lines. Structure and dimensions |
| Дата актуализации текста: | 06.04.2015 |
| Дата актуализации описания: | 01.07.2023 |
| Дата издания: | 28.01.1986 |
| Дата введения: | 01.01.1986 |
| Код ОКП: | 586311 |
| Нормативные ссылки: | ГОСТ 14098-85; ГОСТ 22687.0-85; ГОСТ 22687.3-85;СНиП 2.01.01-82;СНиП 2.01.07-85;СНиП 2.03.11-85 |
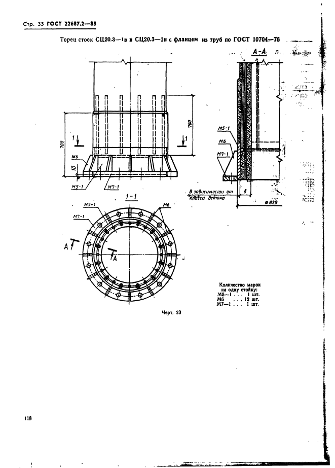
| Область применения: | Настоящий стандарт распространяется на железобетонные предварительно напряженные цилиндрические стойки кольцевого сечения, изготовляемые методом центрифугирования из тяжелого бетона и предназначенные для опор линий электропередачи напряжением 35-750 кВ, и устанавливает конструкцию указанных стоек |
|