| Обозначение: |  ГОСТ 22687.3-85 |
| Статус: | действующий |
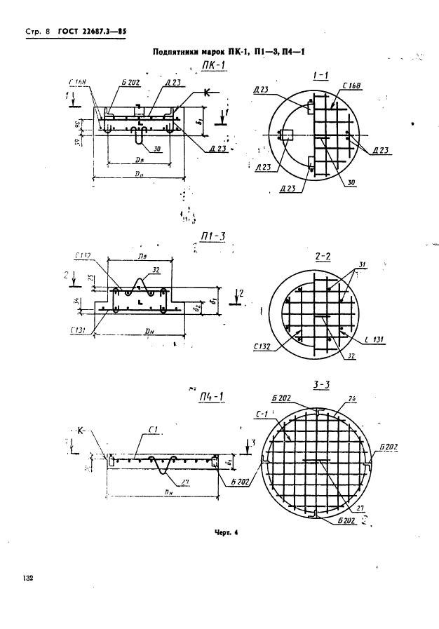
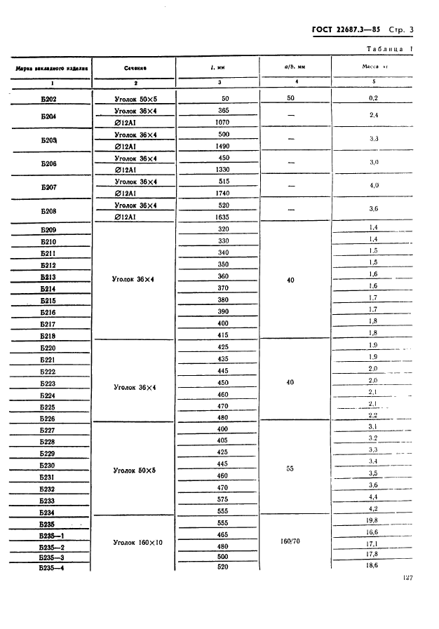
| Название рус.: | Стойки железобетонные центрифугированные для опор высоковольтных линий электопередачи. Конструкция закладных изделий и подпятников |
| Название англ.: | Centrifugal reinforced concrete posts for high-voltage transmission lines. Structure and fitting products |
| Дата актуализации текста: | 06.04.2015 |
| Дата актуализации описания: | 01.07.2023 |
| Дата издания: | 28.05.1986 |
| Дата введения: | 01.01.1986 |
| Код ОКП: | 586311 |
| Нормативные ссылки: | ГОСТ 10922-75; ГОСТ 14098-85; ГОСТ 22687.0-85; ГОСТ 22687.1-85; ГОСТ 22687.2-85 |
| Область применения: | Настоящий стандарт распространяется на закладные изделия и подпятники для железобетонных центрифугированных конических и цилиндрических стоек кольцевого сечения, предназначенных для опор линий электропередачи напряжением 35-750 кВ, и устанавливает конструкцию указанных закладных изделий и подпятников |
|