| Обозначение: |  ГОСТ 24566-86 |
| Статус: | действующий |
| Название рус.: | Соединители плоские втычные. Основные размеры, технические требования и методы испытаний |
| Название англ.: | Flat plug-in connectors. Basic dimensions, technical requirements and test methods |
| Дата актуализации текста: | 06.04.2015 |
| Дата актуализации описания: | 01.07.2023 |
| Дата издания: | 28.01.1987 |
| Дата введения: | 01.01.1988 |
| Код ОКП: | 342949 |
| Взамен: | ГОСТ 23557-79; ГОСТ 24566-81 |
| Содержит требования: | CT CЭB 5360-85 |
| Нормативные ссылки: | ГОСТ 9.303-84; ГОСТ 20.57.406-81; ГОСТ 931-78; ГОСТ 2208-75; ГОСТ 8223-81; ГОСТ 14254-80; ГОСТ 15150-69; ГОСТ 15543-70; ГОСТ 17516-72; ГОСТ 24606.3-82; ГОСТ 24606.4-83; ГОСТ 24606.7-84;СТ СЭВ 4734-84 |
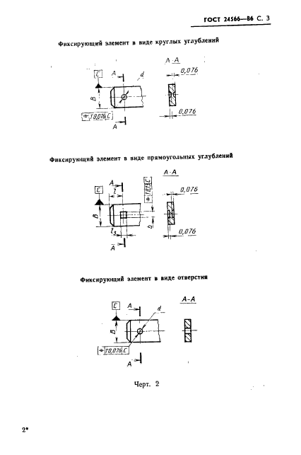
| Область применения: | Настоящий стандарт распространяется на плоские втычные соединители, состоящие из розеток и вилок с плоскими гнездовыми и штыревыми контактами, и устанавливает основные размеры вставок и гнезд, а также технические требования и методы испытаний соединителей. Стандарт не распространяется на соединители для электрооборудования дорожных транспортных средств и сельскохозяйственных самоходных машин |
|