| Обозначение: |  ГОСТ 25645.138-86 |
| Статус: | действующий |
| Название рус.: | Пояса Земли радиационные естественные. Модель пространственно-энергетического распределения плотности потока протонов |
| Дата актуализации текста: | 06.04.2015 |
| Дата актуализации описания: | 01.07.2023 |
| Дата издания: | 01.11.1989 |
| Дата введения: | 01.07.1987 |
| Нормативные ссылки: | ГОСТ 25645.302-83 |
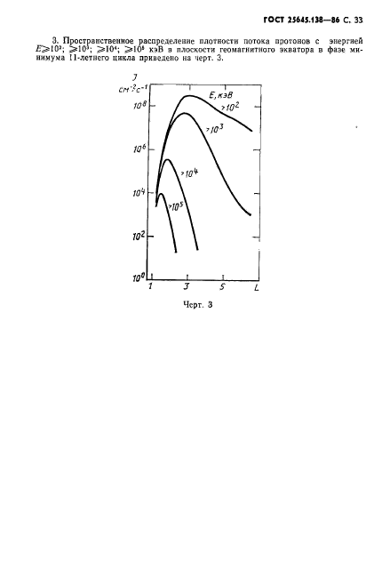
| Область применения: | Настоящий стандарт устанавливает модель пространственного и энергетического распределения плотности потока протонов в фазах минимума и максимума 11-летнего цикла солнечной активности в естественных радиационных поясах Земли. Стандарт предназначен для использования в расчетах радиационных условий полета космических аппаратов в околоземном простанстве |
|