| Обозначение: |  ГОСТ 20492-87 |
| Статус: | действующий |
| Название рус.: | Кассета магнитофонная. Общие технические условия |
| Название англ.: | Tape recorder cassette. General specifications |
| Дата актуализации текста: | 06.04.2015 |
| Дата актуализации описания: | 01.07.2023 |
| Дата издания: | 21.01.1988 |
| Дата введения: | 01.01.1989 |
| Код ОКП: | 237954 |
| Взамен: | ГОСТ 20492-75 |
| Нормативные ссылки: | IEC 60094-7; ГОСТ 15.009-91; ГОСТ 166-89; ГОСТ 427-75; ГОСТ 515-77; ГОСТ 577-68; ГОСТ 645-89; ГОСТ 1341-84; ГОСТ 1760-86; ГОСТ 2991-85; ГОСТ 3560-73; ГОСТ 4381-87; ГОСТ 5959-80; ГОСТ 7328-82; ГОСТ 7933-89; ГОСТ 7950-77; ГОСТ 8074-82; ГОСТ 8273-75; ГОСТ 8828-89; ГОСТ 9481-76; ГОСТ 9557-87; ГОСТ 9569-79; ГОСТ 13511-84; ГОСТ 13512-81; ГОСТ 13699-91; ГОСТ 13841-79; ГОСТ 14192-77; ГОСТ 18242-72; ГОСТ 18251-87; ГОСТ 18321-73; ГОСТ 18573-86; ГОСТ 19775-87; ГОСТ 21650-76; ГОСТ 21929-76; ГОСТ 22852-77; ГОСТ 24597-81; ГОСТ 24863-87; ГОСТ 26964-86 |
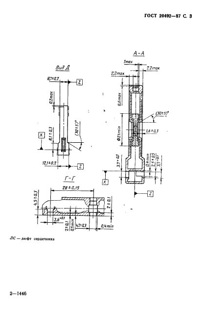
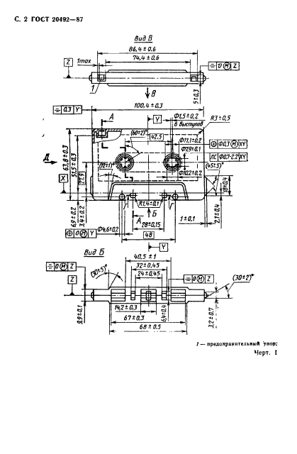
| Область применения: | Настоящий стандарт распространяется на магнитофонные кассеты с магнитной лентой шириной 3,81 мм, предназначенные для магнитной записи и воспроизведения в бытовых и автомобильных кассетных магнитофонов |
| Список изменений: | №1 от 01.07.1989 (рег. 04.01.1989) «Срок действия продлен» №2 от 01.01.1992 (рег. 14.07.1991) «Срок действия продлен» |
|