| Обозначение: |  ГОСТ 22930-87 |
| Статус: | заменён |
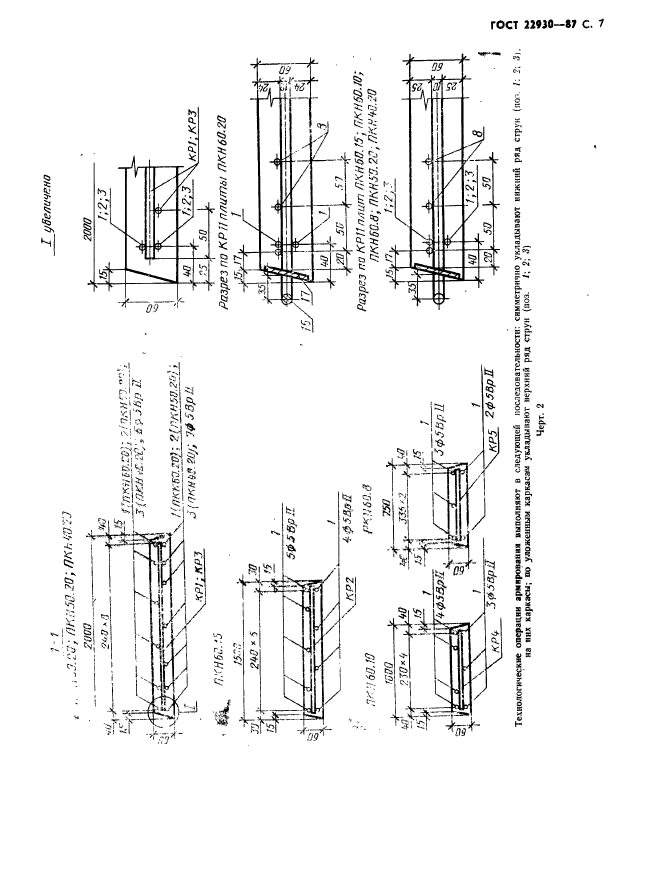
| Название рус.: | Плиты железобетонные предварительно напряженные для облицовки оросительных каналов мелиоративных систем. Технические условия |
| Название англ.: | Prestressed reinforced concrete slabs for irrigation canal lining of melioration systems. Specifications |
| Дата актуализации текста: | 06.04.2015 |
| Дата актуализации описания: | 01.01.2026 |
| Дата издания: | 08.05.1987 |
| Дата введения: | 01.01.1988 |
| Дата окончания срока действия: | 01.01.2026 |
| Код ОКП: | 585811 |
| Взамен: | ГОСТ 22930-78 |
| Заменяющий: | ГОСТ 22930-2025 |
| Нормативные ссылки: | ГОСТ 103-76; ГОСТ 380-71; ГОСТ 5781-82; ГОСТ 6727-80; ГОСТ 7348-81; ГОСТ 8829-85; ГОСТ 10060-87; ГОСТ 10178-85; ГОСТ 10180-78; ГОСТ 10922-75; ГОСТ 12730.0-78; ГОСТ 12730.3-78; ГОСТ 12730.5-84; ГОСТ 13015-75; ГОСТ 13015.0-83; ГОСТ 13015.1-81; ГОСТ 13015.2-81; ГОСТ 13015.3-81; ГОСТ 13015.4-84; ГОСТ 14098-85; ГОСТ 17624-78; ГОСТ 18105-86; ГОСТ 22362-77; ГОСТ 22690.0-77; ГОСТ 22690.1-77; ГОСТ 22690.2-77; ГОСТ 22690.3-77; ГОСТ 22690.4-77; ГОСТ 23009-78; ГОСТ 26633-85 |
| Область применения: | Настоящий стандарт распространяется на железобетонные предварительно напряженные плиты, изготовляемые из тяжелого бетона и предназначенные для облицовки оросительных каналов мелиоративных систем |
|