| Обозначение: |  ГОСТ 27213-87 |
| Статус: | не действует в РФ |
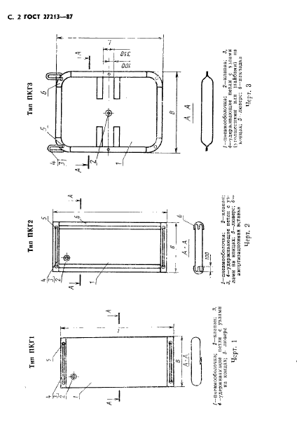
| Название рус.: | Пневмооболочки для крепления грузов. Общие технические требования |
| Название англ.: | Inflatable dunnage for cargo fixing common. Specifications |
| Дата актуализации текста: | 06.04.2015 |
| Дата актуализации описания: | 01.06.2025 |
| Дата издания: | 18.05.1987 |
| Дата введения: | 01.07.1988 |
| Дата окончания срока действия: | 01.02.2025 |
| Код ОКП: | 256700 |
| На территории РФ пользоваться: | ГОСТ Р 71861-2024 |
| Нормативные ссылки: | ISO 668-79; ГОСТ 270-75; ГОСТ 427-75; ГОСТ 7502-80; ГОСТ 8625-77; ГОСТ 14291-77; ГОСТ 15150-69; ГОСТ 15846-79; ГОСТ 16010-70; ГОСТ 18477-79; ГОСТ 21650-76; ГОСТ 21929-76; ГОСТ 23676-79; ГОСТ 24597-81 |
| Область применения: | Настоящий стандарт распространяется на пневмооболочки для крепления грузов при их транспортировании |
|