| Обозначение: |  ГОСТ 27860-88 |
| Статус: | действующий |
| Название рус.: | Детали трущихся сопряжений. Методы измерения износа |
| Название англ.: | Machine parts. Measurement of wear |
| Дата актуализации текста: | 06.04.2015 |
| Дата актуализации описания: | 01.07.2023 |
| Дата издания: | 12.01.1989 |
| Дата введения: | 01.01.1990 |
| Взамен: | ГОСТ 23.206-79; ГОСТ 23.209-79; ГОСТ 23.217-84; ГОСТ 17534-72 |
| Нормативные ссылки: | ГОСТ 23.301-78; ГОСТ 1461-75; ГОСТ 2789-79; ГОСТ 2999-75; ГОСТ 13408-67; ГОСТ 19300-86 |
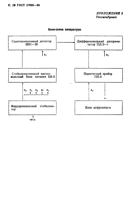
| Область применения: | Настоящий стандарт устанавливает комплекс методов непрерывного или периодического измерения износа деталей трущихся сопряжений при лабораторных испытаниях или в процессе их эксплуатации. Предусматриваются методы измерения износа: деталей из неметаллических конструкционных материалов на основе железа, меди и их сплавов и композиций с относительным содержанием других элементов не более 20 процентов по массе; по уменьшению интенсивности гамма-излучения предварительно активированного в месте измерения износа поверхностного слоя (метод поверхностной активации) или торцевых поверхностей, прилегающих к поверхности износа (метод радиоактивных марок) |
|