| Обозначение: |  ГОСТ 17467-88 |
| Статус: | не действует в РФ |
| Название рус.: | Микросхемы интегральные. Основные размеры |
| Название англ.: | Integrated microcircuits. Basic dimentions |
| Дата актуализации текста: | 06.04.2015 |
| Дата актуализации описания: | 01.07.2023 |
| Дата издания: | 29.05.1989 |
| Дата введения: | 01.01.1990 |
| Дата окончания срока действия: | 01.09.2013 |
| Код ОКП: | 630000 |
| Взамен: | ГОСТ 17467-79;ОСТ 11 073.924-81;РД 11 0422-87 |
| Содержит требования: | СТ СЭВ 5761-86 |
| На территории РФ пользоваться: | ГОСТ Р 54844-2011 |
| Нормативные ссылки: | IEC 60191-2;IEC 60191-3; ГОСТ 17021-88 |
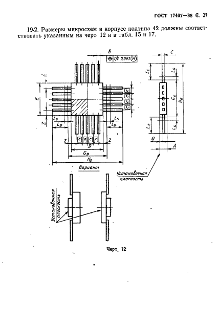
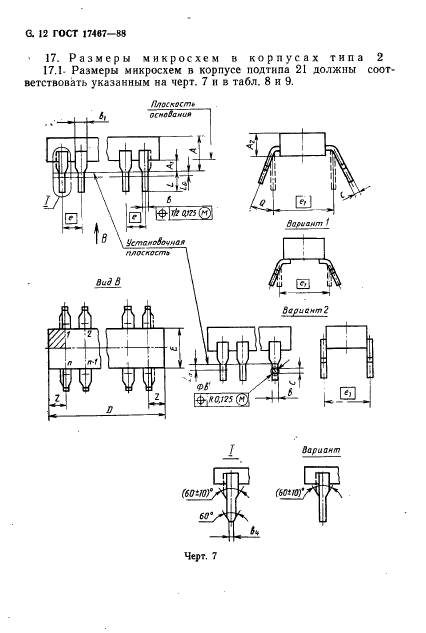
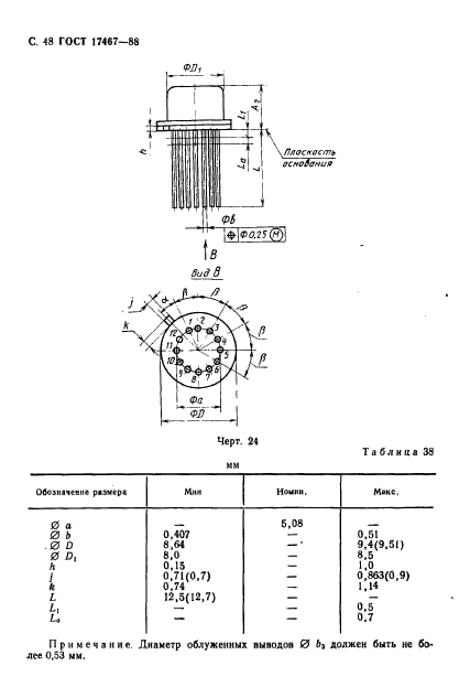
| Область применения: | Настоящий стандарт распространяется на интегральные микросхемы в корпусах и устанавливает их габаритные и присоединительные размеры. Стандарт не распространяется на микросхемы СВЧ диапазона |
| Список изменений: | №0 от 31.08.2013 (рег. 13.12.2011) «Поправка к изменению» |
|