| Обозначение: |  ГОСТ 27620-88 |
| Статус: | действующий |
| Название рус.: | Брюки прямого покроя для военнослужащих срочной службы. Технические условия |
| Название англ.: | Trousers of straight cut for military men of urgent service. Specifications |
| Дата актуализации текста: | 06.04.2015 |
| Дата актуализации описания: | 01.07.2023 |
| Дата издания: | 06.06.1988 |
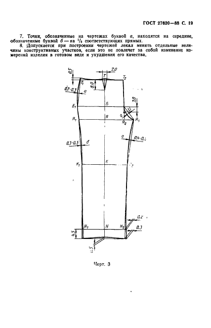
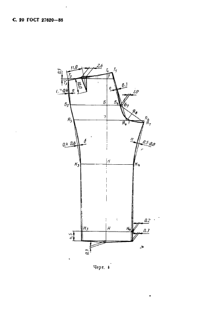
| Дата введения: | 01.07.1989 |
| Код ОКП: | 858251;858253 |
| Нормативные ссылки: | ГОСТ 6309-87; ГОСТ 22665-83; ГОСТ 24782-81; ГОСТ 20272-83 |
| Область применения: | Настоящий стандарт распространяется на форменные брюки прямого покроя для военнослужащих срочной службы и курсантов военных училищ Советской Армии, Комитета государственной безопасности СССР и Министерства внутренних дел СССР |
|