| Обозначение: |  ГОСТ 24396-88 |
| Статус: | действующий |
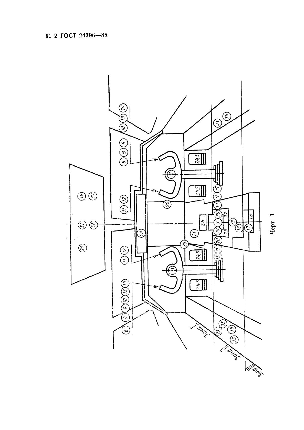
| Название рус.: | Кабина самолета для двух летчиков. Общие требования к размещению основных и аварийных органов управления |
| Название англ.: | Aircraft cabin for two pilots. Main and emergency controls location general requirements |
| Дата актуализации текста: | 06.04.2015 |
| Дата актуализации описания: | 01.07.2023 |
| Дата издания: | 16.09.1988 |
| Дата введения: | 01.07.1989 |
| Код ОКП: | 750000 |
| Область применения: | Настоящий стандарт устанавливает общие требования к размещению основных и аварийных органов управления в кабине самолета, в состав экипажа которого входят два летчика (независимо от общего числа членов экипажа), сидящих рядом на расстоянии между осями симметрии их кресел не более 1050 мм, с общим центральным пультом и креслами, допускающими незафиксированные позы летчиков на всех режимах полета. Стандарт не распространяется на кабины самолетов, оборудованные катапультными креслами |
|