| Обозначение: |  ГОСТ 28627-90 |
| Статус: | заменён |
| Название рус.: | Электромеханические переключатели, используемые в электронной аппаратуре. Общие технические условия |
| Название англ.: | Electromechanical components for electronic equipment. General specifications |
| Дата актуализации текста: | 06.04.2015 |
| Дата актуализации описания: | 01.07.2023 |
| Дата издания: | 23.11.1990 |
| Дата введения: | 01.07.1991 |
| Дата окончания срока действия: | 01.07.2018 |
| Код ОКП: | 631500 |
| Заменяющий: | ГОСТ IEC 61020-1-2016 |
| Содержит требования: | IEC 61020-1(1989) |
| Нормативные ссылки: | ISO 129;ISO 286;ISO 1000:1973;ISO 1101:1981;IEC 60050-151(1978);IEC 60050-441(1984);IEC 60050-581(1978);IEC 60062(1974);IEC 60065(1976);IEC 60068-1(1982);IEC 60068-2-20(1979);IEC 60068-2-21(1983);IEC 60068-2-45(1980);IEC 60410(1973);IEC 60512-2(1985);IEC 60512-3(1976);IEC 60512-4(1976);IEC 60068-2-17(1978);IEC 60512-5(1977);IEC 60512-6(1984);IEC 60512-7(1985);IEC 60512-8(1985);IEC 60529(1976);IEC 60664(1980);IEC 60707(1981); ГОСТ 2.710-81; ГОСТ 2.721-74; ГОСТ 8.417-81; ГОСТ 12.2.006-87; ГОСТ 18242-72; ГОСТ 28198-89; ГОСТ 28210-89; ГОСТ 28211-89; ГОСТ 28364-89; ГОСТ 28381-89; ГОСТ 28299-89; ГОСТ 25486-82 |
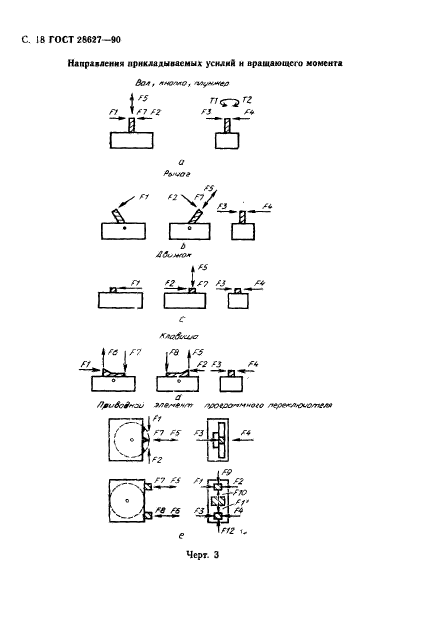
| Область применения: | Настоящий стандарт распространяется на электромеханические переключатели, которые: - представляют собой устройства размыкающие, замыкающие или переключающие электрическую цепь путем механического перемещения токопроводящих частей (контактов); - рассчитаны на максимальное напряжение 500 В; - рассчитаны на максимальный ток 63 А; - предназначены для использования в электронной аппаратуре |
| Список изменений: | №0 от 01.10.2006 (рег. 01.10.2006) «Дата введения перенесена» |
| Приложение №1: | Поправка к ГОСТ 28627-90 |
|