Скачать ГОСТ Р 50351.1-92 Инструменты стоматологические для лечения и обработки канала корня зуба. Часть 1. Корневые напильники, дрильборы, пульпоэкстракторы, рашпили, каналонаполнители, зонды и ватные иглыДата актуализации: 01.06.2025 ГОСТ Р 50351.1-92
Инструменты стоматологические для лечения и обработки канала корня зуба. Часть 1. Корневые напильники, дрильборы, пульпоэкстракторы, рашпили, каналонаполнители, зонды и ватные иглы
| Обозначение: |  ГОСТ Р 50351.1-92 |
| Статус: | действующий |
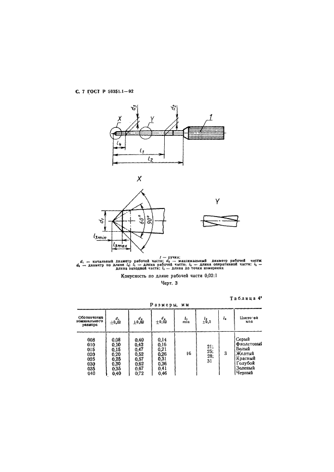
| Название рус.: | Инструменты стоматологические для лечения и обработки канала корня зуба. Часть 1. Корневые напильники, дрильборы, пульпоэкстракторы, рашпили, каналонаполнители, зонды и ватные иглы | | Название англ.: | Dental root-canal instruments. Part 1. Files reamers, barbed broaches, rasps, paste carriers, explorers and cotton broaches | | Дата актуализации текста: | 06.04.2015 | | Дата актуализации описания: | 01.07.2023 | | Дата издания: | 14.01.1993 | | Дата введения: | 01.01.1994 | | Код ОКП: | 943377;943442;943914;943211 | | Содержит требования: | ISO 3630-1:1990 | | Нормативные ссылки: | ГОСТ 26634-91; ГОСТ Р 50350.1-92; ГОСТ Р 50350.2-92; ГОСТ 7.64-90 | | Область применения: | Настоящий стандарт устанавливает требования и методы испытаний для корневых напильников, дрильборов, пульпоэкстракторов, рашпилей, каналонаполнителей, зондов и ватных игл. Кроме того, в нем изложены общие технические требования и методы испытаний, дана информация по цветовому коду и идентификационным символам инструментов для лечения и обработки канала корня зуба всех типов | |
                          
|